| ||||||
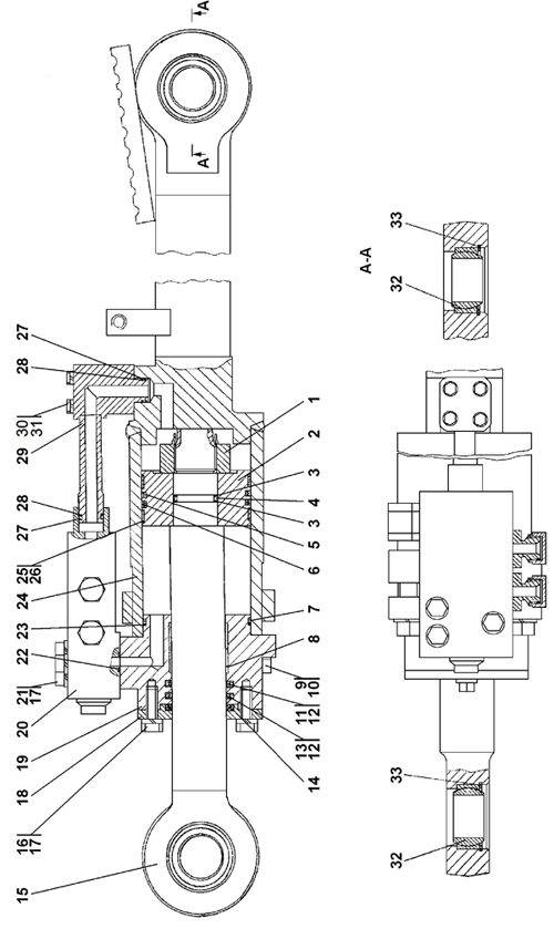
| № п/п | Наименование | Код детали | ||||
| 0 | Гидрораскос ?125 | 010901-93-532СП(SP) | ||||
| 0 | Гидрораскос ?125 | 010901-93-532-20СП | ||||
| 24 | Корпус | 010901-93-534СП(SP) | ||||
| 29 | Трубопровод | 010901-93-537СП(SP) | ||||
| 29 | Трубопровод | 010901-93-537-20СП | ||||
| 20 | Гидрозамок | 011101-93-560СП(SP) | ||||
| 20 | Гидрозамок | 011101-93-560-20СП | ||||
| 14 | Грязесъемник 3-d ГОСТ 24811-81 | 2501-93-506-04СП(SP) | ||||
| 15 | Шток | 010901-93-631 | ||||
| 15 | Шток | 010901-93-631-20 | ||||
| 19 | Крышка | 010901-93-633 | ||||
| 18 | Скребок | 1501-26-616 | ||||
| 11 | Кольцо уплотнительное | 1501-26-630-01 | ||||
| 28 | Кольцо защитное | 2001-26-193 | ||||
| 6 | Кольцо уплотнительное | 2001-26-552 | ||||
| 25 | Втулка опорная (допускается замена на поз.26) | 2001-26-553 | ||||
| 23 | Шайба защитная | 2001-26-558 | ||||
| 2 | Поршень | 312001-26-103 | ||||
| 13 | Кольцо уплотнительное | 312001-26-109-01 | ||||
| 1 | Гайка специальная | 312001-26-110-01 | ||||
| 3 | Шайба защитная | 44 0005 | ||||
| 21 | Болт М12?1,25-6g?80 | 28 0385 | ||||
| 21 | Болт М12?1,25-6g?80 | 28 0385-20 | ||||
| 30 | Болт М10-6g?90 | 28 0293-01 | ||||
| 30 | Болт М10-6g?90 | 28 0293-01-20 | ||||
| 16 | Болт М12?1,25-6g?40 | - | ||||
| 9 | Болт 3М20?1,5-6g?80 | 28 0740 | ||||
| 9 | Болт 3М20?1,5-6g?80 | 28 0740-20 | ||||
| 31 | Шайба 10 ОТ | - | ||||
| 17 | Шайба 12 ОТ | - | ||||
| 10 | Шайба 20 ОТ | - | ||||
| 33 | Кольцо С75 ГОСТ 13941-86 | 58 0673 | ||||
| 22 | Кольцо 020-025-30-2-51-1668 | - | ||||
| 27 | Кольцо 022-028-36-2-51-1668 | - | ||||
| 4 | Кольцо 042-050-46-2-51-1668 | - | ||||
| 12 | Кольцо 070-080-58-2-51-1668 | - | ||||
| 5 | Кольцо 110-120-58-2-51-1668 | - | ||||
| 7 | Кольцо 115-125-58-2-51-1668 | - | ||||
| 8 | Кольцо опорно-направляющее штоковое Е22Т-063-30-2,5 | - | ||||
| 26 | Кольцо опорно-направляющее поршневое Е21Т-125-15-3,0 (допускается замена на поз.25) | - | ||||
| 32 | Подшипник ШСП50 ТУ37.553.130-90 | - | ||||
Обращаем Ваше внимание, что пункты отмеченные звездочкой, обязательны для заполнения.