| ||||||
| № п/п | Наименование | Код детали | ||||
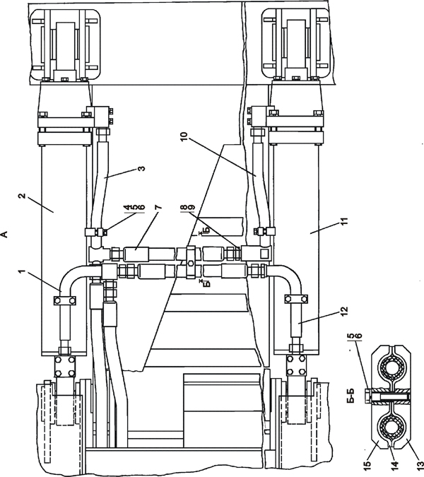
| 1 | Трубопровод | 010901-97-507СП(SP) | ||||
| 1 | Трубопровод | 010901-97-507-20СП | ||||
| 3 | Трубопровод | 010901-97-508СП(SP) | ||||
| 3 | Трубопровод | 010901-97-508-20СП | ||||
| 12 | Трубопровод | 010901-97-509СП(SP) | ||||
| 12 | Трубопровод | 010901-97-509-20СП | ||||
| 10 | Трубопровод | 011101-97-506СП(SP) | ||||
| 10 | Трубопровод | 011101-97-506-20СП | ||||
| 2 | Гидроцилиндр ?100 | 011101-97-543СП(SP) | ||||
| 2 | Гидроцилиндр ?100 | 011101-97-543-20СП | ||||
| 11 | Гидроцилиндр ?100 | 011101-97-543-01СП(SP) | ||||
| 11 | Гидроцилиндр ?100 | 011101-97-543-01-20СП(SP) | ||||
| 7 | Рукав высокого давления ?16 армированный | 46-26-355-01СП(SP) | ||||
| 7 | Рукав высокого давления ?16 армированный | 46-26-355-01-20СП(SP) | ||||
| 4 | Бугель | 2501-98-501 | ||||
| 4 | Бугель | 2501-98-501-20 | ||||
| 15 | Бугель | 312501-26-141 | ||||
| 15 | Бугель | 312501-26-141-20 | ||||
| 13 | Бугель | 312501-26-142-01 | ||||
| 13 | Бугель | 312501-26-142-01-20 | ||||
| 14 | Прокладка | 312501-26-155 | ||||
| 14 | Прокладка | 312501-26-155-20 | ||||
| 8 | Штуцер ввертной | Н 036.04.011 | ||||
| 8 | Штуцер ввертной | Н 036.04.011-01 | ||||
| 5 | Болт М8-6g?45 ГОСТ 7795-70 | - | ||||
| 6 | Шайба 8Т ГОСТ 6402-70 | - | ||||
| 9 | Кольцо 021-027-36-2-51-1668 ТУ 2531-260-00149245-00 | - | ||||
Обращаем Ваше внимание, что пункты отмеченные звездочкой, обязательны для заполнения.