| ||||||
| № п/п | Наименование | Код детали | ||||
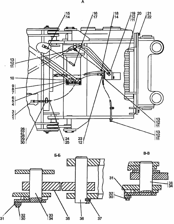
| 20 | Канат | 1101-96-110-01СП(SP) | ||||
| 33 | Палец | 011101-97-10-03СП(SP) | ||||
| 13 | Угольник | 311102-26-513СП(SP) | ||||
| 13 | Угольник | 311102-26-513-20СП | ||||
| 15 | Рукав ? 8 | 311102-26-517-26СП(SP) | ||||
| 15 | Рукав ? 8 | 311102-26-517-26-20СП(SP) | ||||
| 18 | Рукав ? 8 | 311102-26-517-34СП(SP) | ||||
| 18 | Рукав ? 8 | 311102-26-517-34-20СП(SP) | ||||
| 10 | Трубопровод | 011101-97-504-01СП(SP) | ||||
| 10 | Трубопровод | 011101-97-504-01-20СП(SP) | ||||
| 24 | Рукав ? 12 | 404-26-213-04СП(SP) | ||||
| 24 | Рукав ? 12 | 404-26-213-04-20СП | ||||
| 35 | Серьга | 0901-96-43-01 | ||||
| 35 | Серьга | 0901-96-43-01-20 | ||||
| 9 | Фланец | 2001-26-125 | ||||
| 9 | Фланец | 2001-26-125-20 | ||||
| 8 | Кольцо защитное | 2001-26-193 | ||||
| 37 | Пластина | 312501-94-103 | ||||
| 37 | Пластина | 312501-94-103-20 | ||||
| 36 | Ось | 311102-96-39-03 | ||||
| 36 | Ось | 311102-96-39-03-20 | ||||
| 26 | Скоба | 2501-26-216 | ||||
| 26 | Скоба | 2501-26-216-20 | ||||
| 27 | Планка | 2501-26-217 | ||||
| 27 | Планка | 2501-26-217-20 | ||||
| 23 | Штуцер ввертной | 5001-26-78 | ||||
| 23 | Штуцер ввертной | 5001-26-78-20 | ||||
| 16 | Штуцер ввертной | 311102-26-560 | ||||
| 16 | Штуцер ввертной | 311102-26-560-20 | ||||
| 19 | Угольник | 311102-96-569 | ||||
| 19 | Угольник | 311102-96-569-20 | ||||
| 31 | Планка | 011101-97-2 | ||||
| 31 | Планка | 011101-97-2-20 | ||||
| 28 | Втулка | 40 0354-05 | ||||
| 3 | Угольник ввертной | 41 5235 | ||||
| 38 | Палец | 011101-97-10-08СП | ||||
| 32 | Болт М12-6g?25 | - | ||||
| 29 | Болт М12?1,25-6g?25 | - | ||||
| 21 | Болт М16?1,5-6g?65 | 28 0555 | ||||
| 21 | Болт М16?1,5-6g?65 | 28 0555-20 | ||||
| 6 | Болт М10-6g?40 | 28 0250 | ||||
| 6 | Болт М10-6g?40 | 28 0250-20 | ||||
| 5 | Шайба 10 ОТ | - | ||||
| 30 | Шайба 12 ОТ | - | ||||
| 22 | Шайба 16 ОТ | - | ||||
| 4 | Шайба 10 | 31 0170 | ||||
| 4 | Шайба 10 | 31 0170-20 | ||||
| 14 | Кольцо 008-010-14-2-51-1668 | - | ||||
| 25 | Кольцо 012-016-25-2-51-1668 | - | ||||
| 17 | Кольцо 014-018-25-2-51-1668 | - | ||||
| 12 | Кольцо 018-022-25-2-51-1668 | - | ||||
| 2 | Кольцо 021-027-36-2-51-1668 | - | ||||
| 7 | Кольцо 022-028-36-2-51-1668 | - | ||||
| 11 | Контргайка | Н.036.23.022 | ||||
| 11 | Контргайка | Н.036.23.022-01 | ||||
| 1 | Контргайка | Н.036.23.072 | ||||
| 34 | Масленка 1.2Ц6?р | - | ||||
| 34 | Масленка 1.2Кд6?р | - | ||||
Обращаем Ваше внимание, что пункты отмеченные звездочкой, обязательны для заполнения.