| ||||||
| № п/п | Наименование | Код детали | ||||
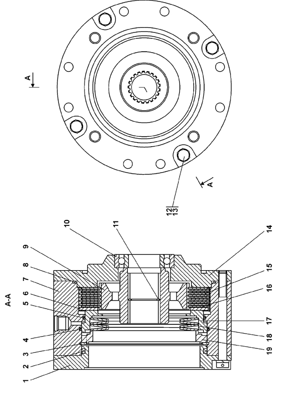
| 0 | Тормоз | 0901-96-100СП(SP) | ||||
| 0 | Тормоз | 0901-96-100-20СП(SP) | ||||
| 16 | Диск фрикционный | 80-1701375СП(SP) | ||||
| 9 | Ступица | 0901-96-11 | ||||
| 1 | Корпус | 0901-96-23 | ||||
| 1 | Корпус | 0901-96-23-20 | ||||
| 7 | Корпус | 0901-96-24 | ||||
| 7 | Корпус | 0901-96-24-20 | ||||
| 14 | Опора | 0901-96-25 | ||||
| 14 | Опора | 0901-96-25-20 | ||||
| 6 | Диск | 0901-96-34 | ||||
| 15 | Диск | 1146-19-12 | ||||
| 17 | Поршень | 1146-19-13 | ||||
| 18 | Тарелка | 1146-19-14 | ||||
| 19 | Втулка | 1146-19-19 | ||||
| 3 | Кольцо специальное | 1146-19-20 | ||||
| 13 | Шайба | 31 0225 | ||||
| 13 | Шайба | 31 0225-20 | ||||
| 12 | Болт 3М12-6g?130 | 28 0392 | ||||
| 12 | Болт 3М12-6g?130 | 28 0392-20 | ||||
| 11 | Кольцо С42 ГОСТ 13941-86 | 58 0421 | ||||
| 2 | Кольцо 170-180-58-2-51-1668 ТУ2531-260-00149245-00 | - | ||||
| 8 | Кольцо 200-210-46-2-3 ГОСТ 18829-73 | - | ||||
| 5 | Кольцо уплотнительное ORAR 04261-N7004 | - | ||||
| 4 | Кольцо уплотнительное ORAR 04262-N7004 Каталог: QUAD-RING SEAL | - | ||||
| 10 | Подшипник 209 ГОСТ 8338-75 | - | ||||
Обращаем Ваше внимание, что пункты отмеченные звездочкой, обязательны для заполнения.