| ||||||
| № п/п | Наименование | Код детали | ||||
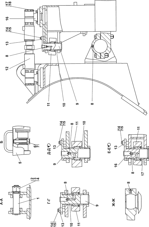
| 16 | Палец | 210922-91-40СП(SP) | ||||
| 9 | Палец | 210922-91-40-01СП(SP) | ||||
| 12 | Раскос винтовой | 210922-91-80СП(SP) | ||||
| 12 | Раскос винтовой | 210922-91-80-20СП | ||||
| 5 | Кожух | 210922-91-200СП(SP) | ||||
| 5 | Кожух | 210922-91-200-20СП | ||||
| 11 | Гидросистема бульдозерного оборудования | 210922-91-500СП(SP) | ||||
| 11 | Гидросистема бульдозерного оборудования | 210922-91-500-20СП | ||||
| 16 | Опора | 1101-11-19СП(SP) | ||||
| 16 | Опора | 1101-11-19-20СП(SP) | ||||
| 1 | Палец | 1501-26-509СП(SP) | ||||
| 13 | Планка | 011101-97-2-01 | ||||
| 13 | Планка | 011101-97-2-01-20 | ||||
| 17 | Кольцо | 011501-93-2 | ||||
| 17 | Кольцо | 011501-93-2-20 | ||||
| 10 | Кольцо | 011501-93-2-02 | ||||
| 10 | Кольцо | 011501-93-2-02-20 | ||||
| 18 | Шайба | 31 5317 | ||||
| 18 | Шайба | 31 5317-20 | ||||
| 17 | Болт М20-6g?50 | 28 0724 | ||||
| 17 | Болт М20-6g?50 | 28 0724-20 | ||||
| 6 | Болт М20?1,5-6g?90 | 28 0746 | ||||
| 6 | Болт М20?1,5-6g?90 | 28 0746-20 | ||||
| 14 | Болт М12?1,25-6g?30 | 28 0342 | ||||
| 14 | Болт М12?1,25-6g?30 | 28 0342-20 | ||||
| 2 | Гайка М30?2 | 30 0431 | ||||
| 2 | Гайка М30?2 | 30 0431-20 | ||||
| 15 | Шайба 12 ГОСТ 6402-70 | - | ||||
| 7 | Шайба 20?4 | 31 0310 | ||||
| 7 | Шайба 20?4 | 31 0310-20 | ||||
| 3 | Шайба 30 | 31 0410-01 | ||||
| 3 | Шайба 30 | 31 0410-20 | ||||
| 4 | Шплинт 6,3?71 ГОСТ 397-79 | - | ||||
| Масленка 1.2 Ц6хр | - | |||||
| Масленка1.2 Кд6хр | - | |||||
Обращаем Ваше внимание, что пункты отмеченные звездочкой, обязательны для заполнения.