| ||||||
| № п/п | Наименование | Код детали | ||||
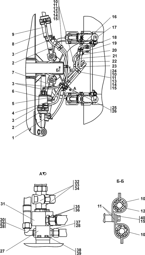
| 0 | Гидросистема бульдозерного оборудования | 210922-91-500СП(SP) | ||||
| 0 | Гидросистема бульдозерного оборудования | 210922-91-500-20СП | ||||
| 27 | Коллектор | 210922-91-501СП(SP) | ||||
| 27 | Коллектор | 210922-91-501-20СП | ||||
| 32 | Тройник | 210922-91-502СП(SP) | ||||
| 32 | Тройник | 210922-91-502-20СП | ||||
| 19 | Трубопровод | 210922-91-503СП(SP) | ||||
| 19 | Трубопровод | 210922-91-503-20СП | ||||
| 18 | Трубопровод | 210922-91-503-01СП | ||||
| 18 | Трубопровод | 210922-91-503-01-20СП) | ||||
| 17 | Трубопровод | 210922-91-504СП(SP) | ||||
| 17 | Трубопровод | 210922-91-504-20СП | ||||
| 16 | Трубопровод | 210922-91-504-01СП | ||||
| 16 | Трубопровод | 210922-91-504-01-20СП | ||||
| 6 | Гидрораскос ?140 | 210922-91-526СП(SP) | ||||
| 6 | Гидрораскос ?140 | 210922-91-526-20СП | ||||
| 4 | Гидроцилиндр ?140 | 210922-91-527СП(SP) | ||||
| 4 | Гидроцилиндр ?140 | 210922-91-527-20СП | ||||
| 9 | Гидроцилиндр ?140 | 210922-91-527-01СП | ||||
| 9 | Гидроцилиндр ?140 | 210922-91-527-01-20СП | ||||
| 22 | Рукав ?20 | 011101-97-509-15СП | ||||
| 22 | Рукав ?20 | 011101-97-509-15-20СП | ||||
| 23 | Рукав ?20 | 011101-97-509-16СП | ||||
| 23 | Рукав ?20 | 011101-97-509-16-20СП | ||||
| 7 | Рукав высокого давления ?16 | 012001-93-512-01СП | ||||
| 7 | Рукав высокого давления ?16 | 012001-93-512-01-20СП | ||||
| 8 | Рукав высокого давления ?16 | 012001-93-512-02СП | ||||
| 8 | Рукав высокого давления ?16 | 012001-93-512-02-20СП(SP) | ||||
| 2 | Рукав высокого давления ?16 | 012001-93-512-04СП | ||||
| 2 | Рукав высокого давления ?16 | 012001-93-512-04-20СП(SP) | ||||
| 5 | Рукав высокого давления ?16 | 012001-93-512-11СП | ||||
| 5 | Рукав высокого давления ?16 | 012001-93-512-11-20СП | ||||
| 21 | Рукав высокого давления ?16 | 012001-93-512-37СП | ||||
| 21 | Рукав высокого давления ?16 | 012001-93-512-37-20СП | ||||
| 20 | Рукав высокого давления ?16 | 012001-93-512-38СП | ||||
| 20 | Рукав высокого давления ?16 | 012001-93-512-38-20СП | ||||
| 1 | Рукав высокого давления ?16 | 012001-93-512-39СП | ||||
| 1 | Рукав высокого давления ?16 | 012001-93-512-39-20СП | ||||
| 3 | Угольник | 46-26-314СП(SP) | ||||
| 3 | Угольник | 46-26-314-20СП(SP) | ||||
| 31 | Коллектор | 210922-91-543 | ||||
| 31 | Коллектор | 210922-91-543-20 | ||||
| 33 | Гайка специальная | 1101-26-636 | ||||
| 33 | Гайка специальная | 1101-26-636-20 | ||||
| 24 | Прокладка | 2001-26-192 | ||||
| 24 | Прокладка | 2001-26-192-20 | ||||
| 35 | Штуцер ввертной | 2001-26-298 | ||||
| 35 | Штуцер ввертной | 2001-26-298-20 | ||||
| 10 | Скоба | 2501-26-300 | ||||
| 10 | Скоба | 2501-26-300-20 | ||||
| 11 | Планка | 2501-26-301 | ||||
| 11 | Планка | 2501-26-301-20 | ||||
| 12 | Втулка | 40 0354-05 | ||||
| 38 | Болт М8-6g?25 | - | ||||
| 25 | Болт 3М10-6g?80 | 28 0266-01 | ||||
| 25 | Болт 3М10-6g?80 | 28 0266-01-20 | ||||
| 13 | Болт М16?1,5-6g?30 | 28 0520 | ||||
| 13 | Болт М16?1,5-6g?30 | 28 0520-20 | ||||
| 40 | Болт М16?1,5-6g?38 | 28 0535 | ||||
| 40 | Болт М16?1,5-6g?38 | 28 0535-20 | ||||
| 14 | Гайка М16?1,5 ГОСТ 5915-70 | - | ||||
| 39 | Шайба 8Т | - | ||||
| 26 | Шайба 10 ОТ | - | ||||
| 15 | Шайба 16 ОТ | - | ||||
| 37 | Штуцер ввертной | Н.036.04.011 | ||||
| 37 | Штуцер ввертной | Н.036.04.011-01 | ||||
| 30 | Контргайка | Н.036.23.072 | ||||
| 30 | Контргайка | Н.036.23.072-01 | ||||
| 29 | Угольник ввертной | Н.036.23.091 | ||||
| 29 | Угольник ввертной | Н.036.23.091-01 | ||||
| 28 | Кольцо 021-027-36-2-51-1668 | - | ||||
| 34 | Кольцо 024-028-25-2-51-1668 | - | ||||
| 36 | Кольцо 026-032-36-2-51-1668 | - | ||||
Обращаем Ваше внимание, что пункты отмеченные звездочкой, обязательны для заполнения.