| ||||||
| № п/п | Наименование | Код детали | ||||
| 0 | Установка двигателя ЯМЗ- 236 | 0902-01-1-01СП(SP) | ||||
| 0 | Установка двигателя ЯМЗ- 236 | 0902-01-1-01-20СП | ||||
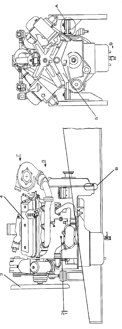
| 5 | Опора передняя | 0902-01-101СП(SP) | ||||
| 5 | Опора передняя | 0902-01-101-20СП(SP) | ||||
| 3 | Крыльчатка вентилятора толкающая | 2002-01-104СП(SP) | ||||
| 3 | Крыльчатка вентилятора толкающая | 2002-01-104-20СП | ||||
| 2 | Переходник | 2002-01-7 | ||||
| 2 | Переходник | 2002-01-7-20 | ||||
| 1 | Датчик аварийного давления масла ММ111В ТУ37.003.138-76 | 45 7382 6184 | ||||
| 1 | Датчик аварийного давления масла ММ111В-Э ТУ37.003.138-76 | 45 7382 6185 | ||||
| 1 | Датчик аварийного давления масла ММ111В-Т ТУ37.003.138-76 | 45 7382 6186 | ||||
| 4 | Двигатель ЯМЗ-236 НБ-2 ТУ 37.319.296-2004 | - | ||||
Обращаем Ваше внимание, что пункты отмеченные звездочкой, обязательны для заполнения.