| ||||||
| № п/п | Наименование | Код детали | ||||
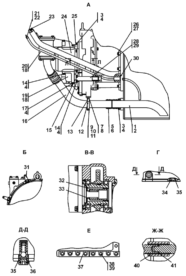
| 21 | Линейка | 3501-16-102-05СП(SP) | ||||
| 1 | Трубопровод | 1101-16-100СП(SP) | ||||
| 1 | Трубопровод | 1101-16-100-20СП(SP) | ||||
| 13 | Опора | 1101-16-101СП(SP) | ||||
| 13 | Опора | 1101-16-101-20СП(SP) | ||||
| 20 | Заборник | 1101-16-103СП(SP) | ||||
| 20 | Заборник | 1101-16-103-20СП(SP) | ||||
| 28 | Труба | 1101-16-104СП(SP) | ||||
| 28 | Труба | 1101-16-104-20СП(SP) | ||||
| 36 | Клапан | 1101-16-112СП(SP) | ||||
| 36 | Клапан | 1101-16-112-20СП(SP) | ||||
| 25 | Кожух | 1101-16-115СП(SP) | ||||
| 25 | Кожух | 1101-16-115-20СП(SP) | ||||
| 23 | Пробка | 2501-15-124СП(SP) | ||||
| 23 | Пробка | 2501-15-124-20СП(SP) | ||||
| 19 | Фланец | 1101-16-2 | ||||
| 19 | Фланец | 1101-16-2-20 | ||||
| 12 | Бугель | 1101-16-3 | ||||
| 12 | Бугель | 1101-16-3-20 | ||||
| 16 | Труба | 1101-16-5 | ||||
| 16 | Труба | 1101-16-5-20 | ||||
| 40 | Муфта | 1101-16-41 | ||||
| 37 | Планка | 1101-16-42 | ||||
| 37 | Планка | 1101-16-42-20 | ||||
| 32 | Муфта | 2501-15-103 | ||||
| 15 | Фланец | 2501-26-83 | ||||
| 15 | Фланец | 2501-26-83-20 | ||||
| 31 | Планка | 400-10-8 | ||||
| 31 | Планка | 400-10-8-20 | ||||
| 5 | Рукав | 46 1602 | ||||
| 34 | Пробка | 37 5969 | ||||
| 34 | Пробка | 37 5969-20 | ||||
| 22 | Прокладка | 700-40-6575 | ||||
| 9 | Болт М8-6g?55 | 28 0150 | ||||
| 9 | Болт М8-6g?55 | 28 0150-20 | ||||
| 17 | Болт М12-6g?110 | 28 1391 | ||||
| 17 | Болт М12-6g?110 | 28 1391-20 | ||||
| 7 | Болт М10-6g?20 | - | ||||
| 3 | Болт М12-6g?25 | - | ||||
| 14 | Болт М12-6g?30 | - | ||||
| 26 | Болт 3М14?1,5-6g?35 | 28 0500 | ||||
| 26 | Болт 3М14?1,5-6g?35 | 28 0500-20 | ||||
| 38 | Болт М16-6g?75 | 28 0551-02 | ||||
| 38 | Болт М16-6g?75 | 28 0551-02-20 | ||||
| 8 | Шайба 10 ОТ | - | ||||
| 4 | Шайба 12 ОТ | - | ||||
| 27 | Шайба 14 ОТ | - | ||||
| 39 | Шайба 16 ОТ | - | ||||
| 11 | Шайба 8Т ГОСТ 11371-78 | 31 0150 | ||||
| 11 | Шайба 8Т ГОСТ 11371-78 | 31 0150-20 | ||||
| 29 | Кольцо 032-038-36-2-51-1668 | - | ||||
| 30 | Кольцо 039-045-36-2-51-1668 | - | ||||
| 18 | Кольцо 060-070-58-2-51-1668 | - | ||||
| 2 | Кольцо 075-081-36-2-ИРП1314-1 ГОСТ 18829-73/ТУ38005204-84 | - | ||||
| 36 | Кольцо 040-045-30-2-3 ГОСТ 18829-73 | - | ||||
| 33 | Кольцо С34 ГОСТ 13940-86 | 58 0307 | ||||
| 41 | Кольцо С40 ГОСТ 13941-86 | 58 0405 | ||||
| 24 | Насос НШ 100А-3 ГСТУ3-25-180-97 | - | ||||
| 24 | Насос НШ 100А-3Т ГСТУ 3-25-180-97 | - | ||||
| 6 | Хомут стяжной червячный 1070-У-02 ПО4.435.002ТУ | - | ||||
Обращаем Ваше внимание, что пункты отмеченные звездочкой, обязательны для заполнения.