| ||||||
| № п/п | Наименование | Код детали | ||||
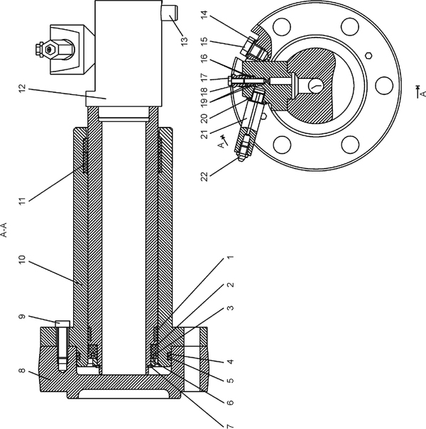
| 0 | Механизм натяжения | 1101-21-42-03СП(SP) | ||||
| 0 | Механизм натяжения | 1101-21-42-03-20СП | ||||
| 12 | Шток | 1101-21-45-03СП(SP) | ||||
| 10 | Цилиндр | 1101-21-65СП(SP) | ||||
| 21 | Наконечник | 1101-21-136 | ||||
| 21 | Наконечник | 1101-21-136-20 | ||||
| 11 | Втулка опорная | 1101-26-614 | ||||
| 8 | Крышка | 2001-21-126 | ||||
| 6 | Кольцо | 1101-21-66 | ||||
| 1 | Кольцо штоковое | 3501-21-95 | ||||
| 18 | Пробка | 46-21-717 | ||||
| 18 | Пробка | 46-21-717-20 | ||||
| 19 | Обойма | 46-21-718 | ||||
| 17 | Игла | 46-21-756 | ||||
| 17 | Игла | 46-21-756-20 | ||||
| 2 | Манжета | 46-21-978 | ||||
| 13 | Штифт | 700-32-2177 | ||||
| 20 | Прокладка | 700-40-260-11 | ||||
| 4 | Шайба | 700-40-4360 | ||||
| 15 | Пробка | 37 5515 | ||||
| 15 | Пробка | 37 5515-20 | ||||
| 3 | Кольцо упругое | 40 0499 | ||||
| 9 | Болт М8-6gх35 ГОСТ 7796-70 | - | ||||
| 14 | Кольцо 16?22 МН 4152-62 | - | ||||
| 16 | Кольцо СТ13-5-4 ГОСТ 288-72 | 50 0192 | ||||
| 7 | Кольцо С70 ГОСТ 13940-86 | 58 0670 | ||||
| 22 | Масленка 1,2Ц6хр | - | ||||
| 22 | Масленка 1,2Кд6хр | - | ||||
| 5 | Кольцо 115-125-58-2-51-1668 ТУ 2531-260-00149245-00 | - | ||||
Обращаем Ваше внимание, что пункты отмеченные звездочкой, обязательны для заполнения.