| ||||||
| № п/п | Наименование | Код детали | ||||
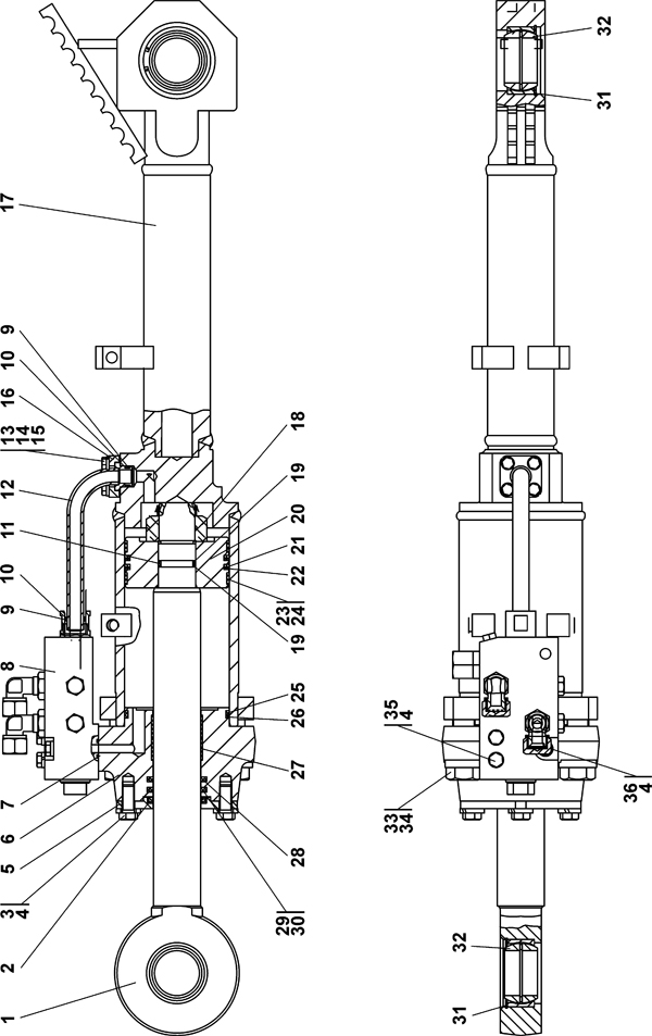
| 0 | Гидрораскос | 210912-93-523СП(SP) | ||||
| 0 | Гидрораскос | 210912-93-523-20СП | ||||
| 17 | Корпус | 011101-93-562-03СП | ||||
| 12 | Трубопровод | 011101-93-571-01СП | ||||
| 12 | Трубопровод | 011101-93-571-01-20СП | ||||
| 8 | Гидрозамок | 510502-93-537-01СП | ||||
| 8 | Гидрозамок | 510502-93-537-01-20СП | ||||
| 2 | Грязесьемник 3-d ГОСТ 24811-81 | 2501-93-506-04СП(SP) | ||||
| 20 | Поршень | 011101-93-503-01 | ||||
| 1 | Шток | 011101-93-527-03 | ||||
| 1 | Шток | 011101-93-527-03-20 | ||||
| 6 | Крышка | 011101-93-546 | ||||
| 5 | Скребок | 1501-26-616 | ||||
| 16 | Фланец | 2001-26-125 | ||||
| 16 | Фланец | 2001-26-125 | ||||
| 10 | Кольцо защитное | 2001-26-193 | ||||
| 26 | Кольцо защитное | 2601-28-10 | ||||
| 29 | Кольцо уплотнительное | 312001-26-109-01 | ||||
| 18 | Гайка специальная | 312001-26-110-01 | ||||
| 23 | Втулка опорная (допускается замена на поз.24) | 312501-26-184 | ||||
| 21 | Кольцо уплотнительное | 312501-26-185 | ||||
| 19 | Кольцо защитное | 46-93-607-02 | ||||
| 33 | Шайба | 31 5412 | ||||
| 33 | Шайба | 31 5412-20 | ||||
| 35 | Болт М12-6g?90 | 28 0388 | ||||
| 35 | Болт М12-6g?90 | 28 0388-20 | ||||
| 13 | Болт М10-6g?30 | - | ||||
| 3 | Болт М12?1,25-6g?25 | - | ||||
| 36 | Болт М12-6g?85 | 28 0383-01 | ||||
| 36 | Болт М12-6g?85 | 28 0383-01-20 | ||||
| 34 | Болт М30?2-6g?80 | 28 0930 | ||||
| 34 | Болт М30?2-6g?80 | 28 0930-20 | ||||
| 14 | Шайба 10 ОТ | - | ||||
| 4 | Шайба 12 ОТ | - | ||||
| 15 | Шайба 10 | 31 0180 | ||||
| 15 | Шайба 10 | 31 0180-20 | ||||
| 31 | Кольцо С90 | 700-58-2278-10 | ||||
| 31 | Кольцо С90 | 700-58-2278-20 | ||||
| 7 | Кольцо 020-025-30-2-51-1668 | - | ||||
| 9 | Кольцо 022-028-36-2-51-1668 | - | ||||
| 11 | Кольцо 040-048-46-2-51-1668 | - | ||||
| 30 | Кольцо 070-080-58-2-51-1668 | - | ||||
| 22 | Кольцо 125-135-58-2-51-1668 | - | ||||
| 25 | Кольцо 130-140-58-2ИРП1314-1 ГОСТ 18829-73/ ТУ 38.005.204-84 | - | ||||
| 32 | Подшипник ШСЛ60 ТУ 4649-020-05808824-2005 | - | ||||
| 28 | Уплотнение штоковое Е01-063-12 ТУ2290-001-48774662-2000 | - | ||||
| 27 | Кольцо опорно-направляющее штоковое Е22Т-063-30-2,5 ТУ 2290-004-48774662-2002 (допускается замена на поз.23) | - | ||||
Обращаем Ваше внимание, что пункты отмеченные звездочкой, обязательны для заполнения.