| ||||||
| № п/п | Наименование | Код детали | ||||
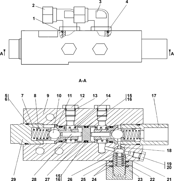
| 0 | Гидрозамок | 510502-93-537-01СПК | ||||
| 0 | Гидрозамок | 510502-93-537-01-20СПК | ||||
| 9 | Корпус | 510502-93-521К | ||||
| 26 | Направляющая | 2501-93-575 | ||||
| 17 | Штуцер специальный | 011101-93-519 | ||||
| 17 | Штуцер специальный | 011101-93-519-20 | ||||
| 29 | Штуцер специальный | 312001-26-100 | ||||
| 29 | Штуцер специальный | 312001-26-100-20 | ||||
| 23 | Колпачок | 3501-93-613 | ||||
| 23 | Колпачок | 3501-93-613-20 | ||||
| 22 | Винт регулировочный | 3501-93-614 | ||||
| 22 | Винт регулировочный | 3501-93-614-20 | ||||
| 25 | Контргайка | 3501-93-615 | ||||
| 25 | Контргайка | 3501-93-615-20 | ||||
| 2 | Колпачок | 46-21-884 | ||||
| 11 | Седло | 46-93-603 | ||||
| 27 | Поршень | 46-93-604 | ||||
| 8 | Вкладыш | 46-93-605 | ||||
| 28 | Толкатель | 46-93-606 | ||||
| 5 | Кольцо защитное | 46-93-607 | ||||
| 15 | Кольцо защитное | 46-93-607-01 | ||||
| 4 | Контргайка | Н.036-23.072 | ||||
| 3 | Угольник ввертной | Н.036-23.091 | ||||
| 3 | Угольник ввертной | Н.036-23.091 | ||||
| 19 | Пробка | 37 5245 | ||||
| 19 | Пробка | 37 5245-20 | ||||
| 12 | Пробка | 37 5516 | ||||
| 7 | Пружина | 38 5285 | ||||
| 21 | Пружина | 38 5350 | ||||
| 21 | Пружина | 38 5350-20 | ||||
| 14 | Пружина | 38 5496 | ||||
| 18 | Шарик 5,953-40 | - | ||||
| 10 | Шарик 19,05-40 | - | ||||
| 20 | Кольцо 007-011-25-2-51-1668 | - | ||||
| 13 | Кольцо 012-016-25-2-51-1668 | - | ||||
| 1 | Кольцо 021-027-36-2-51-1668 | - | ||||
| 24 | Кольцо 025-030-30-2-51-1668 | - | ||||
| 16 | Кольцо 026-032-36-2-51-1668 | - | ||||
| 6 | Кольцо 036-040-25-2-51-1668 | - | ||||
Обращаем Ваше внимание, что пункты отмеченные звездочкой, обязательны для заполнения.