| ||||||
| № п/п | Наименование | Код детали | ||||
| 0 | Раскос винтовой | 011501-93-180-01СП | ||||
| 0 | Раскос винтовой | 011501-93-180-01СП | ||||
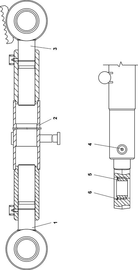
| 2 | Корпус | 011501-93-260-01СП | ||||
| 2 | Корпус | 011501-93-260-01-20СП | ||||
| 3 | Винт | 011501-93-200СП(SP) | ||||
| 3 | Винт | 011501-93-200-20СП | ||||
| 1 | Винт | 011501-93-121 | ||||
| 1 | Винт | 011501-93-121-20 | ||||
| 4 | Масленка 1,2Ц6хр | - | ||||
| 4 | Масленка 1,2Кд6хр | - | ||||
| 6 | Кольцо С90 | 700-58-2278-10 | ||||
| 6 | Кольцо С90 | 700-58-2278-20 | ||||
| 5 | Подшипник ШСЛ60 ТУ 4649-020-05808824-2005 | - | ||||
Обращаем Ваше внимание, что пункты отмеченные звездочкой, обязательны для заполнения.