| ||||||
| № п/п | Наименование | Код детали | ||||
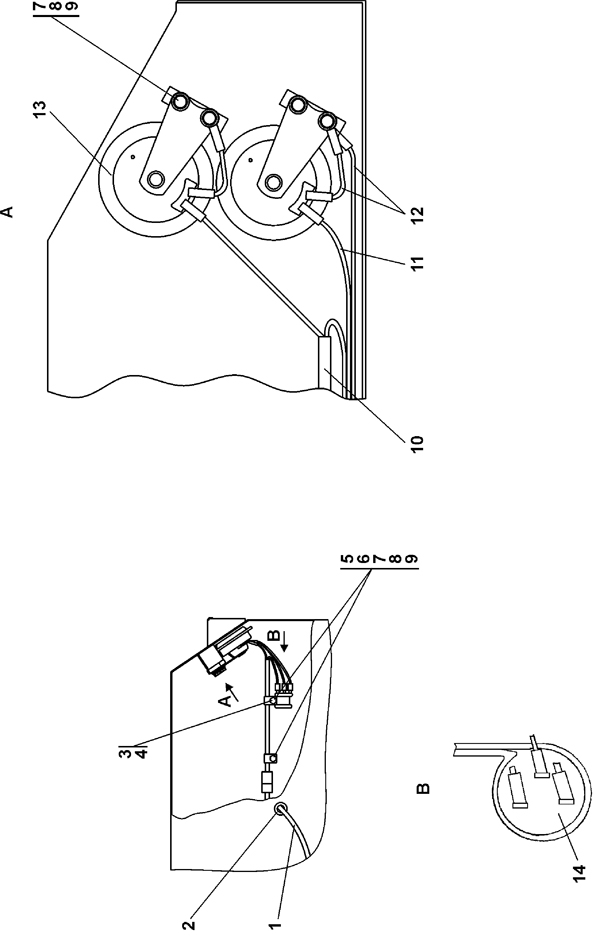
| 0 | Установка звуковых сигналов в контейнере АКБ | 0902-10-15СП(SP) | ||||
| 0 | Установка звуковых сигналов в контейнере АКБ | 0902-10-15-20СП(SP) | ||||
| 1 | Жгут | 0902-10-100СП(SP) | ||||
| 1 | Жгут | 0902-10-100-20СП(SP) | ||||
| 10 | Жгут | 0902-10-103СП(SP) | ||||
| 10 | Жгут | 0902-10-103-20СП(SP) | ||||
| 12 | Провод | 2501-10-129-22СП(SP) | ||||
| 12 | Провод | 2501-10-129-22-20СП | ||||
| 11 | Провод | 3501-10-129-26СП(SP) | ||||
| 11 | Провод | 3501-10-129-26-20СП | ||||
| 5 | Хомутик | 41 5045 | ||||
| 3 | Хомутик | 41 4320 | ||||
| 4 | Прокладка | 700-40-6684-02 | ||||
| 6 | Прокладка | 700-40-6684-07 | ||||
| 2 | Кольцо | 700-40-6736 | ||||
| 7 | Болт М8-6g?16 ГОСТ 7796-70 | - | ||||
| 8 | Шайба 8Т ГОСТ 6402-70 | - | ||||
| 9 | Шайба 8 | 31 0150 | ||||
| 9 | Шайба 8 | 31 0150-20 | ||||
| 13 | Сигнал С313 | 45 7374 2173 | ||||
| 13 | Сигнал С313-Э | 45 7374 2174 | ||||
| 13 | Сигнал С313-Т | 45 7374 2175 | ||||
| 14 | Прерыватель РС493-3803010-У-ХЛ | 45 7374 6548 | ||||
| Прерыватель РС493-3803010-Т | 45 7374 6293 | |||||
Обращаем Ваше внимание, что пункты отмеченные звездочкой, обязательны для заполнения.