| ||||||
| № п/п | Наименование | Код детали | ||||
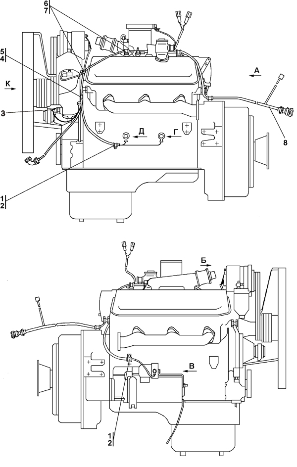
| 0 | Электрооборудование двигателя | 1102-10-12СП(SP) | ||||
| 0 | Электрооборудование двигателя | 1102-10-12-20СП(SP) | ||||
| 8 | Жгут | 1102-10-100СП(SP) | ||||
| 8 | Жгут | 1102-10-100-20СП(SP) | ||||
| 3 | Наконечник | 700-40-5607 | ||||
| 6 | Прокладка | 700-40-6684-03 | ||||
| 5 | Прокладка | 700-40-6684-04 | ||||
| 5 | Прокладка | 700-40-6684-06 | ||||
| 1 | Прокладка | 700-40-6684-07 | ||||
| 4 | Хомутик | 700-41-3179 | ||||
| 4 | Хомутик | 41 5119 | ||||
| 7 | Хомутик | 700-41-3307 | ||||
| 2 | Хомутик | 700-41-3310 | ||||
Обращаем Ваше внимание, что пункты отмеченные звездочкой, обязательны для заполнения.