| ||||||
| № п/п | Наименование | Код детали | ||||
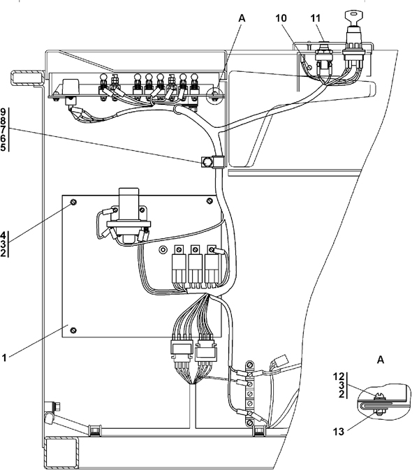
| 0 | Установка блока выключателей | 1102-10-156СП(SP) | ||||
| 0 | Установка блока выключателей | 1102-10-156-10СП(SP) | ||||
| 0 | Установка блока выключателей | 1102-10-156-20СП(SP) | ||||
| 1 | Блок выключателей | 1102-10-150СП(SP) | ||||
| 1 | Блок выключателей | 1102-10-150-10СП(SP) | ||||
| 1 | Блок выключателей | 1102-10-150-20СП(SP) | ||||
| 13 | Клипса | 2501-89-123СП(SP) | ||||
| 10 | Винт | 35 5440 | ||||
| 10 | Винт | 35 5440-20 | ||||
| 11 | Колпачок | 40 0411 | ||||
| 9 | Прокладка | 700-40-6684-03 | ||||
| 8 | Хомутик | 700-41-2548 | ||||
| 7 | Болт М8-6g?16 | - | ||||
| 7 | ГОСТ 7796-70 | - | ||||
| 12 | Винт В.М6-6g?12 | - | ||||
| 4 | Винт В.М6-6g?16 | - | ||||
| 3 | Шайба 6Т | - | ||||
| 6 | Шайба 8Т | - | ||||
| 2 | Шайба 6 | 31 0120 | ||||
| 2 | Шайба 6 | 31 0120-20 | ||||
| 5 | Шайба 8 | 31 0150 | ||||
| 5 | Шайба 8 | 31 0150-20 | ||||
Обращаем Ваше внимание, что пункты отмеченные звездочкой, обязательны для заполнения.