| ||||||
| № п/п | Наименование | Код детали | ||||
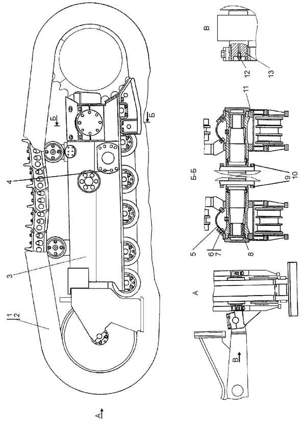
| 0 | Система ходовая | 0901-21-1-01СП(SP) | ||||
| 11 | Тележка | 0901-21-12-01СП(SP) | ||||
| 11 | Тележка | 0901-21-12-01-20СП | ||||
| 3 | Тележка | 0901-21-13-01СП(SP) | ||||
| 3 | Тележка | 0901-21-13-01-20СП | ||||
| 8 | Шарнир* | 0901-21-18СП(SP) | ||||
| 8 | Шарнир | 0901-21-18-20СП(SP | ||||
| 8 | Шарнир** | 0901-21-18-01СП(SP) | ||||
| 8 | Шарнир | 0901-21-18-01-20СП | ||||
| 13 | Ось | 1101-21-60 | ||||
| 5 | Кожух | 0901-21-72 | ||||
| 5 | Кожух | 0901-21-72-20 | ||||
| 9 | Шайба | 31 5355 | ||||
| 9 | Шайба | 31 5355-20 | ||||
| 6 | Шайба | 700-31-2209 | ||||
| 6 | Шайба | 700-31-2209-20 | ||||
| 4 | Пробка | 7879-4201-04 | ||||
| 7 | Болт М16х1,5-6gх30 | 28 0520 | ||||
| 7 | Болт М16х1,5-6gх30 | 28 0520-20 | ||||
| 10 | Болт М24?2-6g?90 | 28 0840 | ||||
| 10 | Болт М24?2-6g?90 | 28 0840-20 | ||||
| 12 | Масленка 1.2.Ц6 | - | ||||
| 12 | Масленка 1.2.кд6хр | - | ||||
| 1 | Гусеница ТЖ190-22-000 (допускается замена на поз.2) | - | ||||
| 2 | Гусеница ТЖ190-22-000-01 (допускается замена на поз.1) | - | ||||
Обращаем Ваше внимание, что пункты отмеченные звездочкой, обязательны для заполнения.