| ||||||
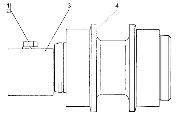
| № п/п | Наименование | Код детали | ||||
| 0 | Каток поддерживающий | 0901-21-115СП(SP) | ||||
| 4 | Каток поддерживающий | 0901-21-216СП(SP) | ||||
| 4 | Каток поддерживающий | 0901-21-216-20СП | ||||
| 3 | Опора | 1101-21-122 | ||||
| 1 | Болт М20-6g?85 | 280742 | ||||
| Болт М20-6g?85 | 28 0742-20 | |||||
| 2 | Шайба 20 ОТ ГОСТ 6402-70 | - | ||||
Обращаем Ваше внимание, что пункты отмеченные звездочкой, обязательны для заполнения.