| ||||||
| № п/п | Наименование | Код детали | ||||
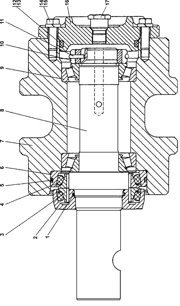
| 0 | Каток поддерживающий | 0901-21-216СП(SP) | ||||
| 0 | Каток поддерживающий | 0901-21-216-20СП(SP) | ||||
| 7 | Каток | 0901-21-355СП(SP) | ||||
| 7 | Каток | 0901-21-355-20СП(SP) | ||||
| 8 | Ось | 0901-21-115 | ||||
| 16 | Крышка | 1101-21-123 | ||||
| 2 | Крышка | 1501-21-107 | ||||
| 6 | Корпус уплотнения | 1501-21-120 | ||||
| 10 | Гайка специальная | 1501-21-124 | ||||
| 11 | Кольцо стопорное | 1501-21-125 | ||||
| 3 | Кольцо уплотнительное | 1501-21-142 | ||||
| 17 | Пробка | 37 5509 | ||||
| 17 | Пробка | 37 5509-20 | ||||
| 4 | Кольцо упругое | 40 0452 | ||||
| 14 | Болт М10-6g?30 ГОСТ 7796-70 | - | ||||
| 15 | Шайба 10 ОТ ГОСТ 6402-70 | - | ||||
| 1 | Кольцо 055-060-30-2-51-1668 ТУ 2531-260-00149245-00 | - | ||||
| 12 | Кольцо 084-090-36-2-51-1668 ТУ 2531-260-00149245-00 (допускается замена на поз.13) | - | ||||
| 5 | Кольцо 104-110-36-2-51-1668 ТУ 2531-260-00149245-00 | - | ||||
| 13 | Кольцо 084-090-36-2-3 ГОСТ 18829-73/ ТУ 38.005204-84 (допускается замена на поз.12) | - | ||||
| 9 | Подшипник 7209 ТУ 37.006.162-89 | - | ||||
Обращаем Ваше внимание, что пункты отмеченные звездочкой, обязательны для заполнения.