| ||||||
| № п/п | Наименование | Код детали | ||||
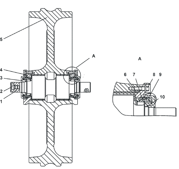
| 0 | Колесо натяжное | 0901-21-141СП(SP) | ||||
| 0 | Колесо натяжное | 0901-21-141-20СП | ||||
| 4 | Фланец | 1101-21-52СП(SP) | ||||
| 5 | Колесо | 0901-21-262СП(SP) | ||||
| 5 | Колесо | 0901-21-262-20СП | ||||
| 1 | Ось | 0901-21-141 | ||||
| 3 | Крышка | 1101-21-107 | ||||
| 6 | Кольцо уплотнительное | 1501-21-142 | ||||
| 8 | Болт | 2501-21-411 | ||||
| 8 | Болт | 2501-21-411-20 | ||||
| 2 | Пробка | 37 5509 | ||||
| 2 | Пробка | 37 5509-20 | ||||
| 9 | Кольцо упругое | 40 0452 | ||||
| 10 | Кольцо 050-055-30-2-51-1668 | - | ||||
| 7 | Кольцо 114-120-36-2-51-1668 | - | ||||
Обращаем Ваше внимание, что пункты отмеченные звездочкой, обязательны для заполнения.