| ||||||
| № п/п | Наименование | Код детали | ||||
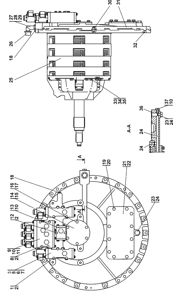
| 0 | Коробка передач с системой гидроуправления | 0901-12-11СП(SP) | ||||
| 25 | Коробка передач планетарная | 0901-12-10СП(SP) | ||||
| 9 | Блок управления | 0901-15-2СП(SP) | ||||
| 9 | Блок управления | 0901-15-2-20СП(SP) | ||||
| 13 | Клапан | 0901-15-3СП(SP) | ||||
| 13 | Клапан | 0901-15-3-20СП(SP) | ||||
| 3 | Клапан-модулятор | 0602-15-27СП(SP) | ||||
| 3 | Клапан-модулятор | 0602-15-27-20СП(SP) | ||||
| 31 | Корпус | 0901-12-21 | ||||
| 31 | Корпус | 0901-12-21-20 | ||||
| 14 | Крышка | 0901-12-25 | ||||
| 33 | Болт специальный | 1101-12-36-01 | ||||
| 21 | Крышка | 2001-12-75 | ||||
| 26 | Заглушка | 2501-26-295 | ||||
| 27 | Угольник ввертной | Н.036.23.091 | ||||
| 27 | Угольник ввертной | Н.036.23.091-01 | ||||
| 28 | Контргайка | Н.036.23.072 | ||||
| 34 | Шайба | 31 0225 | ||||
| 30 | Штифт | 32 5382 | ||||
| 18 | Пробка 3-кг1/4” ТУ23.1.506-91 | 37 0260 | ||||
| 23 | Пробка | 37 5331 | ||||
| 23 | Пробка | 37 5331-20 | ||||
| 37 | Пробка | 37 5515 | ||||
| 37 | Пробка | 37 5515-20 | ||||
| 32 | Кольцо | 40 0468-24 | ||||
| 22 | Прокладка | 45 0271 | ||||
| 22 | Прокладка | 45 0271-20 | ||||
| 15 | Прокладка | 45 0340 | ||||
| 15 | Прокладка | 45 0340-20 | ||||
| 8 | Болт М8-6g?75 | 28 0165 | ||||
| 8 | Болт М8-6g?75 | 28 0165-20 | ||||
| 1 | Болт М8-6g?90 | 28 0170 | ||||
| 1 | Болт М8-6g?90 | 28 0170-20 | ||||
| 16 | Болт М10-6g?25 | 28 0230 | ||||
| 16 | Болт М10-6g?25 | 28 0230-20 | ||||
| 19 | Болт М12-6g?30 | - | ||||
| 12 | Болт М8-6g?70 | - | ||||
| 2 | Шайба 8Т | - | ||||
| 17 | Шайба 10 ОТ | - | ||||
| 20 | Шайба 12 ОТ | - | ||||
| 10 | Кольцо 014-018-25-2-51-1668 | - | ||||
| 5 | Кольцо 016-020-25-2-51-1668 | - | ||||
| 24 | Кольцо 018-022-25-2-51-1668 | - | ||||
| 29 | Кольцо 021-027-36-2-51-1668 | - | ||||
| 6 | Кольцо 022-026-25-2-51-1668 | - | ||||
| 7 | Кольцо 027-032-30-2-51-1668 | - | ||||
| 36 | Кольцо 032-038-36-2-51-1668 | - | ||||
| 11 | Кольцо 082-088-36-2-ИРП1314-1 ГОСТ 18829-73 | - | ||||
| 35 | Проволока КС1 ГОСТ 792-67 | - | ||||
Обращаем Ваше внимание, что пункты отмеченные звездочкой, обязательны для заполнения.