| ||||||
| № п/п | Наименование | Код детали | ||||
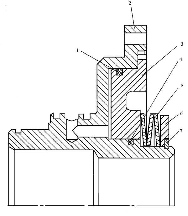
| 0 | Бустер | 1101-12-100СП(SP) | ||||
| 2 | Корпус | 1101-12-6 | ||||
| 3 | Поршень | 1101-12-10 | ||||
| 7 | Кольцо | 1101-12-31 | ||||
| 6 | Кольцо | 1101-12-32 | ||||
| 5 | Тарелка | 1101-12-33 | ||||
| 1 | Кольцо уплотнительное | 2501-12-181-32 | ||||
| 4 | Кольцо уплотнительное | 2501-12-181-34 | ||||
Обращаем Ваше внимание, что пункты отмеченные звездочкой, обязательны для заполнения.