| ||||||
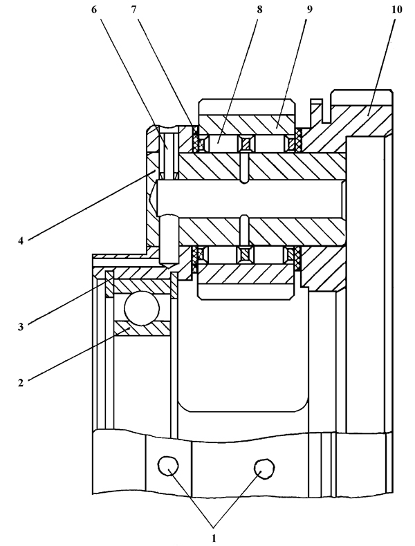
| № п/п | Наименование | Код детали | ||||
| 0 | Водило | 1101-12-101СП(SP) | ||||
| 0 | Водило | 1101-12-101-20СП(SP) | ||||
| 6 | Штифт | 1101-12-111СП(SP) | ||||
| 10 | Водило | 1101-12-7 | ||||
| 9 | Сателлит | 1101-12-25 | ||||
| 4 | Ось | 1101-12-26 | ||||
| 7 | Кольцо упорное | 312001-90-36 | ||||
| 3 | Кольцо С120 ГОСТ 13941-86 | 700-58-2092 | ||||
| 2 | Подшипник 5-1000917Л ГОСТ 8338-75 | - | ||||
| 1 | Шарик Б6-200 ГОСТ 3722-81 | - | ||||
| 8 | Подшипник F229.230.1 | - | ||||
Обращаем Ваше внимание, что пункты отмеченные звездочкой, обязательны для заполнения.