| ||||||
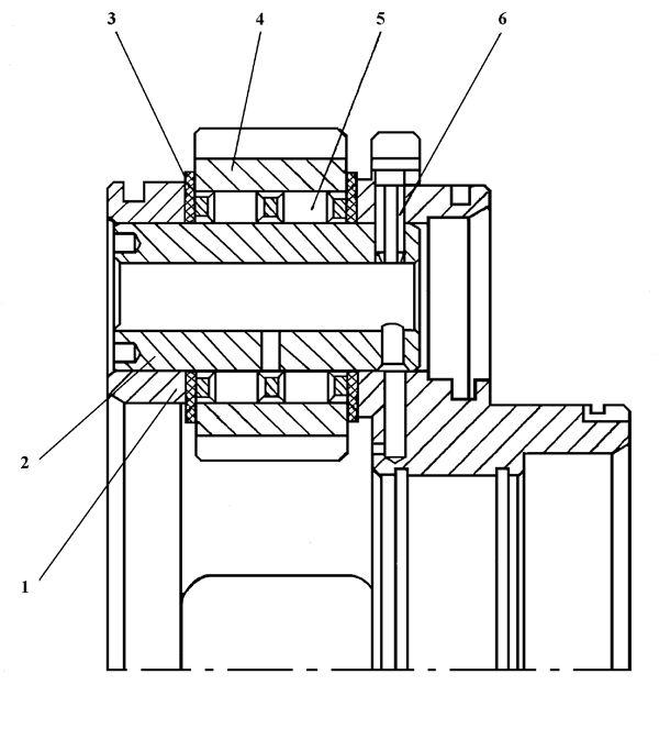
| № п/п | Наименование | Код детали | ||||
| 0 | Водило | 1101-12-103СП(SP) | ||||
| 0 | Водило | 1101-12-103-20СП(SP) | ||||
| 6 | Штифт | 1101-12-111СП(SP) | ||||
| 1 | Водило | 1101-12-9 | ||||
| 4 | Сателлит | 1101-12-25 | ||||
| 2 | Ось | 1101-12-28 | ||||
| 3 | Кольцо упорное | 312001-90-36 | ||||
| 5 | Подшипник F229.230.1 | - | ||||
Обращаем Ваше внимание, что пункты отмеченные звездочкой, обязательны для заполнения.