| ||||||
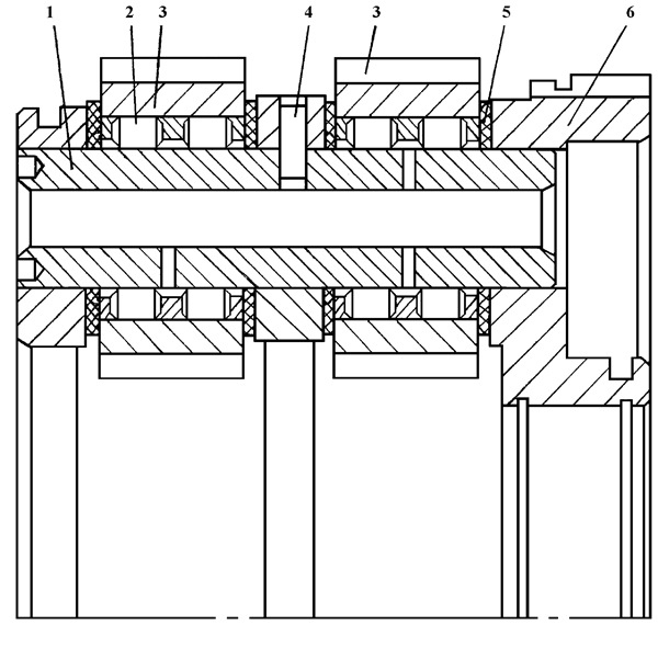
| № п/п | Наименование | Код детали | ||||
| 0 | Водило | 1101-12-105СП(SP) | ||||
| 0 | Водило | 1101-12-105-20СП(SP) | ||||
| 4 | Штифт | 1101-12-111СП(SP) | ||||
| 6 | Водило | 1101-12-72 | ||||
| 3 | Сателлит | 1101-12-25 | ||||
| 1 | Ось | 1101-12-27 | ||||
| 5 | Кольцо упорное | 312001-90-36 | ||||
| 2 | Подшипник F229.230.1 | - | ||||
Обращаем Ваше внимание, что пункты отмеченные звездочкой, обязательны для заполнения.