| ||||||
| № п/п | Наименование | Код детали | ||||
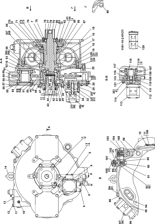
| 0 | Гидротрансформатор с редуктором привода насосов | 1101-14-2СП(SP)* | ||||
| 0 | Гидротрансформатор с редуктором привода насосов | 1101-14-2-20СП(SP) | ||||
| 0 | Гидротрансформатор с редуктором привода насосов | 1101-14-2-01СП(SP)** | ||||
| 0 | Гидротрансформатор с редуктором привода насосов | 1101-14-2-01-20СП(SP) | ||||
| 78 | Ось реактора | 1101-14-10СП(SP) | ||||
| 25 | Фланец | 1101-14-11СП(SP) | ||||
| 60 | Шестерня | 1101-14-13СП(SP) | ||||
| 29 | Заборник | 1101-14-14СП(SP) | ||||
| 80 | Крышка | 1101-14-15СП(SP) | ||||
| 34 | Ступица | 1101-14-16СП(SP) | ||||
| 105 | Клапан | 2001-14-17СП(SP) | ||||
| 96 | Клапан | 2501-15-138 | ||||
| 18 | Корпус | 1101-14-1 | ||||
| 18 | Корпус | 1101-14-1-20 | ||||
| 61 | Корпус | 1101-14-2 | ||||
| 61 | Корпус | 1101-14-2-20 | ||||
| 16 | Колесо насосное | 1101-14-3 | ||||
| 19 | Колесо турбинное | 1101-14-4 | ||||
| 17 | Колесо реактора | 1101-14-5 | ||||
| 45 | Фланец | 1101-14-13 | ||||
| 85 | Стакан | 1101-14-14 | ||||
| 71 | Коллектор | 1101-14-15 | ||||
| 76 | Стакан | 1101-14-16 | ||||
| 75 | Кольцо | 1101-14-17 | ||||
| 50 | Шестерня | 1101-14-18 | ||||
| 107 | Шестерня | 1101-14-21 | ||||
| 59 | Ступица | 1101-14-22 | ||||
| 109 | Втулка | 1101-14-23 | ||||
| 118 | Ступица | 1101-14-24 | ||||
| 115 | Стакан | 1101-14-25 | ||||
| 32 | Втулка | 1101-14-26 | ||||
| 33 | Крышка | 1101-14-27 | ||||
| 121 | Крышка | 1101-14-28 | ||||
| 5 | Фланец | 1101-14-29 | ||||
| 8 | Пластина | 1101-14-30 | ||||
| 90 | Втулка | 1101-14-34 | ||||
| 93 | Корпус | 1101-14-35 | ||||
| 20 | Пластина | 1101-14-36 | ||||
| 46 | Заглушка | 1101-14-37 | ||||
| 98 | Штуцер | 1101-14-40 | ||||
| 98 | Штуцер | 1101-14-40-20 | ||||
| 79 | Вал турбины | 1101-14-45 | ||||
| 43 | Фланец | 1101-14-46 | ||||
| 67 | Болт призонный | 1101-12-56 | ||||
| 82 | Кольцо уплотнительное | 2501-12-181-35 | ||||
| 41 | Шайба | 2601-12-40 | ||||
| 11 | Крышка | 2001-14-30 | ||||
| 100 | Болт зажимной | 2501-20-8-01 | ||||
| 100 | Болт зажимной | 2501-20-8-01-20 | ||||
| 57 | Крышка | 2501-20-33 | ||||
| 51 | Втулка | 2501-20-51 | ||||
| 102 | Переходник | 1101-15-52 | ||||
| 102 | Переходник | 1101-15-52-20 | ||||
| 116 | Муфта | 404-26-29 | ||||
| 81 | Болт | 28 5140 | ||||
| 119 | Болт | 28 5221 | ||||
| 1 | Болт | 28 5330 | ||||
| 66 | Пробка | 37 5332 | ||||
| 39 | Гайка | 30 5590 | ||||
| 103 | Пробка | 37 0710 | ||||
| 103 | Пробка | 37 0710-20 | ||||
| 83 | Шайба | 31 5220 | ||||
| 63 | Штифт | 32 5383 | ||||
| 9 | Пробка кг ? ТУ 23.1.506-91 | 37 0250-08 | ||||
| 99 | Пробка | 37 5331 | ||||
| 99 | Пробка | 37 5331-20 | ||||
| 26 | Пробка | 37 5516 | ||||
| 26 | Пробка | 37 5516-20 | ||||
| 91 | Пружина | 38 5253 | ||||
| 15 | Кольцо | 40 0468-13 | ||||
| 87 | Кольцо уплотнительное | 44 0015 | ||||
| 112 | Прокладка | 45 0029 | ||||
| 112 | Прокладка | 45 0029-20 | ||||
| 13 | Прокладка | 45 0224 | ||||
| 13 | Прокладка | 45 0224-20 | ||||
| 74 | Кольцо | 58 5772 | ||||
| 64 | Пробка | 700-37-2140 | ||||
| 64 | Пробка | 700-37-2140-20 | ||||
| 104 | Пружина | 700-38-2637 | ||||
| 95 | Прокладка | 700-40-5336 | ||||
| 95 | Прокладка | 700-40-5336-20 | ||||
| 3 | Болт М8-6g?55 | - | ||||
| 30 | Болт М8-6g?70 | - | ||||
| 97 | Болт М12-6g?90 | 28 0388 | ||||
| 97 | Болт М12-6g?90 | 28 0388-20 | ||||
| 7 | Болт М8-6g?20 | - | ||||
| 35 | Болт М8-6g?35 | - | ||||
| 12 | Болт М10-6g?25 | 28 0230 | ||||
| 12 | Болт М10-6g?25 | 28 0230-20 | ||||
| 56 | Болт М12-6g?25 | - | ||||
| 37 | Болт М12-6g?30 | - | ||||
| 70 | Болт 3М10-6g?40 | 28 0252 | ||||
| 49 | Болт 3М12-6g?40 | 28 0351 | ||||
| 84 | Болт 3М14?1,5-6g?35 | 28 0500 | ||||
| 84 | Болт 3М14?1,5-6g?35 | 28 0500-20 | ||||
| 23 | Болт М14?1,5-6g?40 | 280507 | ||||
| 23 | Болт М14?1,5-6g?40 | 28 0507-20 | ||||
| 40 | Винт М8-6g?16 ГОСТ 1478-93 | 35 0520 | ||||
| 21 | Гайка М12?1,25 | 30 0213 | ||||
| 68 | Гайка М14?1,5 | 30 0252 | ||||
| 22 | Шпилька М12?25 | 29 0320 | ||||
| 4 | Шайба 8Т | - | ||||
| 36 | Шайба 12 ОТ | - | ||||
| 24 | Шайба 14 ОТ | - | ||||
| 89 | Шайба 16?1 ГОСТ 10450-78 | 31 0280 | ||||
| 114 | Кольцо С16 | 58 0155 | ||||
| 111 | Кольцо С50 | 58 0510 | ||||
| 69 | Кольцо С100 | 58 0760 | ||||
| 117 | Кольцо С28 | 58 0272 | ||||
| 44 | Кольцо С75 | 58 0673 | ||||
| 58 | Кольцо С125 | 58 0818 | ||||
| 62 | Кольцо С52 ГОСТ 13943-86 | 58 0515 | ||||
| 27 | Кольцо 012-016-25-2-51-1668 | - | ||||
| 31 | Кольцо 018-022-25-2-51-1668 | - | ||||
| 6 | Кольцо 020-025-30-2-51-1668 | - | ||||
| 28 | Кольцо 027-032-30-2-51-1668 | - | ||||
| 88 | Кольцо 036-040-25-2-51-1668 | - | ||||
| 92 | Кольцо 032-038-36-2-51-1668 | - | ||||
| 106 | Кольцо 039-045-36-2-ФСИ-80М ТУ2539-001-49247031-2004 | - | ||||
| 65 | Кольцо 045-050-30-2-51-1668 ТУ 2531-260-00149245-00 | - | ||||
| 94 | Кольцо 075-081-36-2-ИРП1314-1 ГОСТ 18829-73 | - | ||||
| 54 | Кольцо 100-110-58-2-ИРП 1314-1 ГОСТ 18829-73 | - | ||||
| 110 | Кольцо 104-110-36-2-51-1668 | - | ||||
| 55 | Кольцо 115-125-58-2-51-1668 | - | ||||
| 38 | Кольцо 175-180-36-2-51-1668 | - | ||||
| 86 | Кольцо 205-210-36-2-51-1668 | - | ||||
| 42 | Манжета 75-100-10 BAUSLX2 AS DIN 3761 | - | ||||
| 14 | Рым-болт М16 ГОСТ 4751-73 | 28 0590 | ||||
| 14 | Рым-болт М16 ГОСТ 4751-73 | 28 0590-20 | ||||
| 52 | Подшипник 6016 (взамен поз. 53) | - | ||||
| 72 | Подшипник 1032920 ГОСТ 8328-75 (взамен поз. 73) | - | ||||
| 108 | Подшипник 110 | - | ||||
| 53 | Подшипник 116А (взамен поз.52) | - | ||||
| 77 | Подшипник 210А | - | ||||
| 47 | Подшипник 6-17612Л | - | ||||
| 48 | Подшипник 6-176218Л | - | ||||
| 73 | Подшипник 7А-1032920Д1ТЗ ЕТУ 100/1 (взамен поз.72) | - | ||||
| 113 | Насос НШ14Г-3* ГСТУ 3-25-180-97 | - | ||||
| 120 | Насос НШ 14Д-10Д-3 ГСТУ 3-25-180-97 | - | ||||
| 10 | Датчик ТМ 100В | - | ||||
| 10 | Датчик 100В-Т | - | ||||
| 101 | Датчик аварийного давления масла 3602.3829 ТУ37.453.092-93 | - | ||||
| 2 | Проволока 1,6-О-С ГОСТ 3282-74 | - | ||||
Обращаем Ваше внимание, что пункты отмеченные звездочкой, обязательны для заполнения.