| ||||||
| № п/п | Наименование | Код детали | ||||
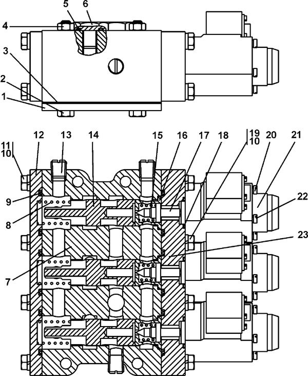
| 0 | Блок управления | 0901-15-2СП(SP) | ||||
| 0 | Блок управления | 0901-15-2-20СП(SP) | ||||
| 7 | Корпус | 0901-15-1 | ||||
| 7 | Корпус | 0901-15-1-20 | ||||
| 14 | Золотник | 0901-15-2 | ||||
| 16 | Корпус | 0901-15-3 | ||||
| 17 | Клапан | 0901-15-4 | ||||
| 12 | Крышка | 0901-15-6 | ||||
| 23 | Крышка | 0801-15-7 | ||||
| 1 | Крышка | 0901-15-8 | ||||
| 6 | Пробка | 37 5331 | ||||
| 6 | Пробка | 37 5331-20 | ||||
| 15 | Пружина | 38 5126 | ||||
| 8 | Пружина | 38 5285 | ||||
| 3 | Прокладка | 45 0338 | ||||
| 3 | Прокладка | 45 0338-20 | ||||
| 11 | Болт М8-6g?25 | - | ||||
| 19 | Болт М8-6g?35 | - | ||||
| 2 | Болт 3М8-6g?75 | 28 0166 | ||||
| 4 | Гайка М8 ГОСТ 5915-70 | - | ||||
| 13 | Пробка ТУ23.1.506-91 | 37 0260 | ||||
| 5 | Кольцо 018-022-25-2-51-1668 | - | ||||
| 18 | Кольцо 022-026-25-2-51-1668 | - | ||||
| 9 | Кольцо 032-038-36-2-51-1668 | - | ||||
| 22 | Шайба 4 | - | ||||
| 10 | Шайба 8Т | - | ||||
| 20 | Винт М4?63 | - | ||||
| 21 | Привод КВМ 36М-ААГ-Г24-03-УХЛ1 ТУ 4144-007-00221712-2002 | - | ||||
Обращаем Ваше внимание, что пункты отмеченные звездочкой, обязательны для заполнения.