| ||||||
| № п/п | Наименование | Код детали | ||||
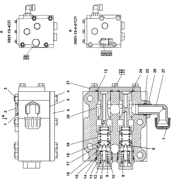
| 0 | Клапан* | 0901-15-4СП(SP) | ||||
| 0 | Клапан | 0901-15-4-20СП(SP) | ||||
| 0 | Клапан** | 0901-15-4-01СП(SP) | ||||
| 0 | Клапан | 0901-15-4-01-20СП(SP) | ||||
| 16 | Корпус | 0901-15-45 | ||||
| 16 | Корпус | 0901-15-45-20 | ||||
| 20 | Золотник | 0901-15-46 | ||||
| 24 | Золотник | 0901-15-47 | ||||
| 21 | Крышка | 0901-15-49 | ||||
| 14 | Кольцо | 0901-15-52 | ||||
| 13 | Пробка | 0901-15-54 | ||||
| 13 | Пробка | 0901-15-54-20 | ||||
| 12 | Втулка | 0901-15-55 | ||||
| 17 | Дроссель | 0602-15-150-01 | ||||
| 8 | Дроссель | 0602-15-150-02 | ||||
| 11 | Клапан | 1501-15-46 | ||||
| 6 | Крышка | 312001-15-11 | ||||
| 27 | Угольник ввертной | Н.036.23.091 | ||||
| 27 | Угольник ввертной | Н.036.23.091-01 | ||||
| 26 | Контргайка | Н.036.23.072 | ||||
| 26 | Контргайка | Н.036.23.072 | ||||
| 7 | Заглушка | 2501-26-295 | ||||
| 9 | Шайба | 31 5204 | ||||
| 30 | Заглушка | 2501-26-294 | ||||
| 2 | Пробка | 37 5331 | ||||
| 2 | Пробка | 37 5331-20 | ||||
| 28 | Пробка | 37 5714 | ||||
| 28 | Пробка | 37 5714-20 | ||||
| 10 | Пружина | 38 5285 | ||||
| 19 | Пружина | 38 5365 | ||||
| 29 | Угольник ввертной | 41 5235 | ||||
| 5 | Прокладка | 45 0281 | ||||
| 4 | Болт М12-6g?90 ГОСТ 7795-70 | - | ||||
| 22 | Болт М8-6g?25 ГОСТ 7796-70 | - | ||||
| 3 | Гайка М12 ГОСТ 5915-70 | - | ||||
| 23 | Шайба 8Т ГОСТ 6402-70 | - | ||||
| 1 | Кольцо 018-022-25-2-51-1668 | - | ||||
| 25 | Кольцо 021-027-36-2-51-1668 | - | ||||
| 18 | Кольцо 024-028-25-2-51-1668 | - | ||||
| 15 | Кольцо 032-038-36-2-51-1668 | - | ||||
Обращаем Ваше внимание, что пункты отмеченные звездочкой, обязательны для заполнения.