| ||||||
| № п/п | Наименование | Код детали | ||||
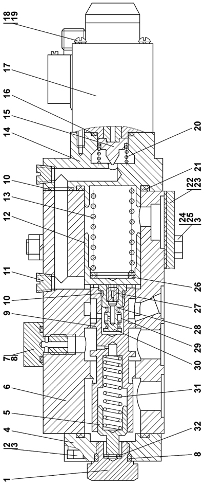
| 0 | Клапан-модулятор | 1101-15-27СП(SP) | ||||
| 0 | Клапан-модулятор | 1101-15-27-20СП(SP) | ||||
| 6 | Корпус | 0602-15-82К | ||||
| 6 | Корпус | 0602-15-82-20К | ||||
| 9 | Золотник | 0602-15-83К | ||||
| 5 | Поршень | 0602-15-84К | ||||
| 15 | Клапан | 0602-15-85К | ||||
| 14 | Крышка | 0602-15-86К | ||||
| 4 | Крышка | 0602-15-95К | ||||
| 30 | Дроссель | 0602-15-88К | ||||
| 27 | Дроссель | 0602-15-89К | ||||
| 12 | Поршень | 0602-15-90К | ||||
| 29 | Сетка | 0602-15-91К | ||||
| 22 | Крышка | 0602-15-26К | ||||
| 7 | Пробка | 37 5331 | ||||
| 7 | Пробка | 37 5331-20 | ||||
| 11 | Пробка КГ1/8” ТУ 23.1.506-91 | 37 0140-08 | ||||
| 1 | Пробка | 37 5625-01 | ||||
| 1 | Пробка | 37 5625-01-20 | ||||
| 31 | Пружина | 38 5120-20 | ||||
| 20 | Пружина | 38 5172-01 | ||||
| 13 | Пружина | 38 5435 | ||||
| 23 | Прокладка | 45 0331 | ||||
| 23 | Прокладка | 45 0331-20 | ||||
| 2 | Болт М8-6g?30 | - | ||||
| 24 | Болт М8-6g?90 | 28 0170 | ||||
| 24 | Болт М8-6g?90 | 28 0170-20 | ||||
| 25 | Гайка М8 ГОСТ 5915-70 | - | ||||
| 19 | Шайба 4 | - | ||||
| 3 | Шайба 8Т | - | ||||
| 32 | Шайба 5 ГОСТ 11371-78 | 31 0080 | ||||
| 26 | Шайба 16?1 ГОСТ 10450-78 | 31 0280 | ||||
| 18 | Винт М4?63 (ПЭМ6-005) | - | ||||
| 10 | Кольцо 012-016-25-2-51-1668 | - | ||||
| 8 | Кольцо 018-022-25-2-51-1668 | - | ||||
| 16 | Кольцо 022-026-25-2-51-1668 | - | ||||
| 21 | Кольцо 039-045-36-2-51-1668 | - | ||||
| 17 | Привод КВМ 36М-ААГ-Г24-03-УХЛ1 ТУ 4144-007-00221712-2002 | - | ||||
| 28 | Проволока 0,6-О-Ч ГОСТ 3282-74 | - | ||||
Обращаем Ваше внимание, что пункты отмеченные звездочкой, обязательны для заполнения.