| ||||||
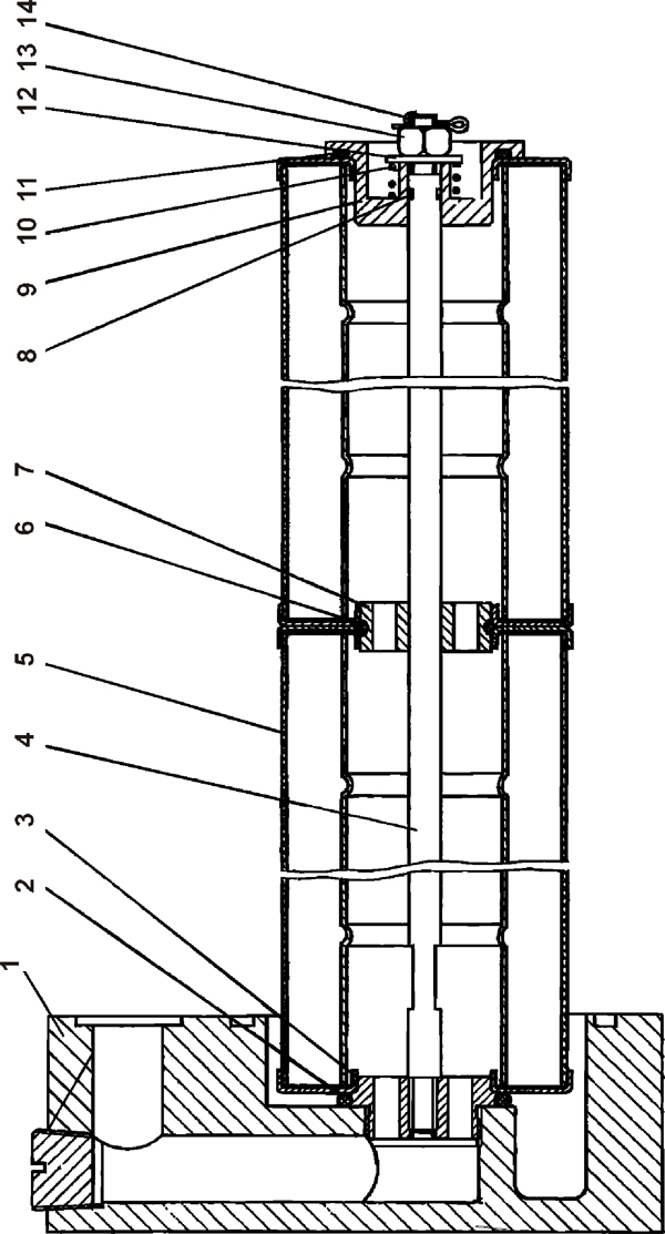
| № п/п | Наименование | Код детали | ||||
| 0 | Фильтр | 1101-15-10СП(SP) | ||||
| 1 | Крышка | 1101-15-9СП(SP) | ||||
| 1 | Крышка | 1101-15-9-20СП(SP) | ||||
| 3 | Втулка | 1101-15-32 | ||||
| 4 | Стержень | 1101-15-33 | ||||
| 9 | Чашка | 1101-15-34 | ||||
| 7 | Втулка | 1101-15-35 | ||||
| 10 | Пружина | 38 5240-05 | ||||
| 13 | Гайка | 30 0160 | ||||
| 12 | Шайба 8 | 31 0140 | ||||
| 12 | Шайба 8 | 31 0140-20 | ||||
| 14 | Шплинт 2?20 ГОСТ 397-79 | - | ||||
| 8 | Кольцо 007-011-25-2-51-1668 ГОСТ 18829-73/ТУ38.005.204-84 | - | ||||
| 6 | Кольцо 040-048-46-2-51-1668 | - | ||||
| 2,11 | Кольцо 050-055-30-2-51-1668 | - | ||||
| 5 | Элемент фильтрующий 1101-15-25 ТУ3117.008.00232058-97 | - | ||||
Обращаем Ваше внимание, что пункты отмеченные звездочкой, обязательны для заполнения.