| ||||||
| № п/п | Наименование | Код детали | ||||
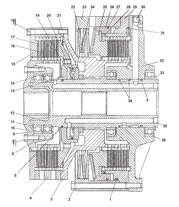
| 0 | Фрикцион бортовой и тормоз остановочный | 1101-18-10СП(SP) | ||||
| 17 | Диск | 1101-18-100СП(SP) | ||||
| 3 | Барабан | 1101-18-102СП(SP) | ||||
| 32 | Корпус | 1101-18-1 | ||||
| 29 | Проставка | 1101-18-3 | ||||
| 26 | Поршень | 1101-18-4 | ||||
| 25 | Диск нажимной | 1101-18-5 | ||||
| 23 | Барабан | 1101-18-6 | ||||
| 22 | Тарелка | 1101-18-7 | ||||
| 4 | Барабан | 1101-18-8 | ||||
| 10 | Барабан | 1101-18-9 | ||||
| 13 | Поршень | 1101-18-10 | ||||
| 24 | Кольцо | 1101-18-11 | ||||
| 19 | Кольцо | 1101-18-12 | ||||
| 14 | Кольцо | 1101-18-13 | ||||
| 15 | Крышка | 1101-18-14 | ||||
| 6 | Обойма | 1101-18-15 | ||||
| 16 | Диск | 1101-18-16 | ||||
| 34 | Кольцо уплотнительное | 1101-18-20 | ||||
| 12 | Вал | 1101-18-24 | ||||
| 5 | Кольцо уплотнительное | 2501-12-181-34 | ||||
| 21 | Кольцо уплотнительное | 2501-12-181-37 | ||||
| 27 | Кольцо уплотнительное | 2501-12-181-43 | ||||
| 30 | Пробка | 700-37-2182-01 | ||||
| 28 | Кольцо уплотнительное | 2501-12-181-05 | ||||
| 35 | Штифт | 700-32-2074 | ||||
| 2 | Болт М12-6g?140 ГОСТ 7795-70 | 28 1393 | ||||
| 18 | Болт 3М10-6g?80 ГОСТ 7796-70 | 28 0266-01 | ||||
| 8 | Болт 3М10-6g?25 ГОСТ 7798-70 | 28 0231 | ||||
| 31 | Кольцо 012-016-25-2-51-1668 ТУ2531-260-00149245-00 | - | ||||
| 1 | Кольцо 315-325-582-3 ГОСТ 18829-73 | - | ||||
| 11 | Кольцо С90 ГОСТ 13940-86 | 58 0705 | ||||
| 33 | Кольцо С100 ГОСТ13940-86 | 58 0760 | ||||
| 20 | Кольцо С110 ГОСТ 13940-86 | 58 0805 | ||||
| 9 | Подшипник 1000918 ГОСТ 8338-75 | - | ||||
| 36 | Подшипник 1000920 ГОСТ 8338-75 | - | ||||
| 7 | Проволока КС-1,6 ГОСТ 792-67 | - | ||||
Обращаем Ваше внимание, что пункты отмеченные звездочкой, обязательны для заполнения.