| ||||||
| № п/п | Наименование | Код детали | ||||
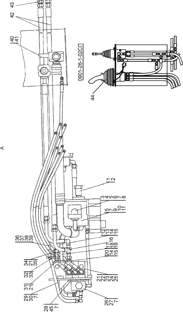
| 16 | Трубопровод | 0901-26-12СП(SP) | ||||
| 16 | Трубопровод | 0901-26-12-20СП(SP) | ||||
| 12 | Трубопровод | 0901-26-12-01СП(SP) | ||||
| 12 | Трубопровод | 0901-26-12-01-20СП(SP) | ||||
| 29 | Кронштейн | 0901-26-19СП(SP) | ||||
| 29 | Кронштейн | 0901-26-19-20СП(SP) | ||||
| 44 | Пульт управления | 0901-26-20СП(SP)** | ||||
| 44 | Пульт управления | 0901-26-20-20СП(SP) | ||||
| 26 | Клапан | 0901-26-25СП(SP) | ||||
| 26 | Клапан | 0901-26-25-20СП(SP) | ||||
| 32 | Угольник | 311102-26-514-02СП | ||||
| 32 | Угольник | 311102-26-514-02-20СП | ||||
| 33 | Угольник | 311102-26-514-03СП | ||||
| 33 | Угольник | 311102-26-514-03-20СП | ||||
| 34 | Угольник | 0602-28-25-01СП(SP) | ||||
| 34 | Угольник | 0602-28-25-01-20СП(SP) | ||||
| 42 | Рукав высокого давления ?16 армированный* | 46-26-355-17СП(SP)* | ||||
| 42 | Рукав высокого давления ?16 армированный | 46-26-355-17-20СП(SP) | ||||
| 42 | Рукав высокого давления ?16 армированный | 46-26-355-25СП(SP)** | ||||
| 42 | Рукав высокого давления ?16 армированный | 46-26-355-25-20СП(SP) | ||||
| 17 | Штуцер ввертной | 0901-26-10 | ||||
| 17 | Штуцер ввертной | 0901-26-10-20 | ||||
| 13 | Штуцер ввертной | 0901-26-11 | ||||
| 13 | Штуцер ввертной | 0901-26-11-20 | ||||
| 20 | Штуцер ввертной | 0901-26-13 | ||||
| 20 | Штуцер ввертной | 0901-26-13-20 | ||||
| 28 | Планка | 0901-26-23 | ||||
| 28 | Планка | 0901-26-23-20 | ||||
| 31 | Штуцер ввертной | 0901-26-24 | ||||
| 31 | Штуцер ввертной | 0901-26-24-20 | ||||
| 43 | Заглушка | 0901-26-25 | ||||
| 43 | Заглушка | 0901-26-25-20 | ||||
| 3 | Фланец | 0901-26-31 | ||||
| 3 | Фланец | 0901-26-31-20 | ||||
| 22 | Заглушка | 1101-26-206 | ||||
| 22 | Заглушка | 1101-26-206-20 | ||||
| 14 | Шайба специальная | 1101-26-222 | ||||
| 14 | Шайба специальная | 1101-26-222-20 | ||||
| 18 | Шайба специальная | 1101-26-223 | ||||
| 18 | Шайба специальная | 1101-26-223-20 | ||||
| 40 | Бугель | 312501-26-141 | ||||
| 40 | Бугель | 312501-26-141-20 | ||||
| 41 | Бугель | 312501-26-142 | ||||
| 41 | Бугель | 312501-26-142-20 | ||||
| 1 | Муфта | 2501-15-103 | ||||
| 36 | Бугель | 0602-28-105-01 | ||||
| 36 | Бугель | 0602-28-105-01-20 | ||||
| 21 | Шайба специальная | 0602-28-136 | ||||
| 35 | Штуцер ввертной | 0602-28-137 | ||||
| 35 | Штуцер ввертной | 0602-28-137-20 | ||||
| 4 | Шайба защитная | 44 0049 | ||||
| 37 | Бонка | 51 5088 | ||||
| 38 | Болт М8-6g?30 ГОСТ 7795-70 | - | ||||
| 23 | Болт М10-6g?40 | 28 0250 | ||||
| 23 | Болт М10-6g?40 | 28 0250-20 | ||||
| 45 | Болт М12-6g?25 | - | ||||
| 30 | Болт М12?1,25-6g?25 | - | ||||
| 27 | Болт М12?1,25-6g?20 | 28 0320 | ||||
| 27 | Болт М12?1,25-6g?20 | 28 0320-20 | ||||
| 5 | Болт М12-6g?40 | - | ||||
| 6 | Болт М12-6g?100 | 28 1389 | ||||
| 6 | Болт М12-6g?100 | 28 1389-20 | ||||
| 39 | Шайба 8 Т | - | ||||
| 24 | Шайба 10 ОТ | - | ||||
| 7 | Шайба 12 ОТ | - | ||||
| 9 | Шайба 12?2 | 31 0210 | ||||
| 9 | Шайба 12?2 | 31 0210-20 | ||||
| 2 | Кольцо С34 ГОСТ 13940-86 | 58 0307 | ||||
| 15 | Кольцо 024-028-25-2-51-1668 | - | ||||
| 8 | Кольцо 038-046-46-2-51-1668 | - | ||||
| 19 | Кольцо 030-036-36-2-ИРП1314 | - | ||||
| 10 | Кольцо 100-110-58-2-ИРП1314 | - | ||||
| 11 | Насос НШ 71А-3 ГСТУ 3-25-180-97 | - | ||||
| 11 | Насос НШ 71А-3Т ГСТУ 3-25-180-97 | - | ||||
| 25 | Клапан 3SX14LX/P200 | - | ||||
Обращаем Ваше внимание, что пункты отмеченные звездочкой, обязательны для заполнения.