| ||||||
| № п/п | Наименование | Код детали | ||||
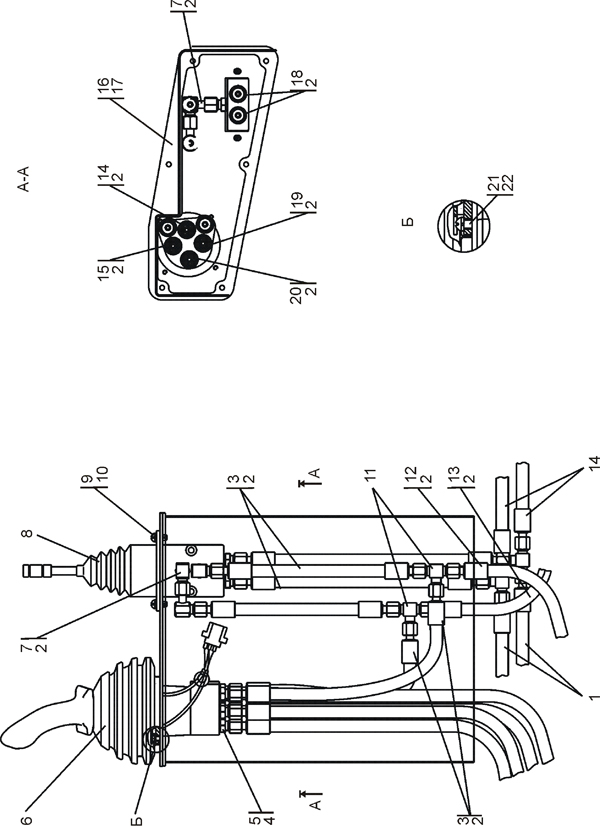
| 0 | Пульт управления | 0901-26-20СП(SP)* | ||||
| 0 | Пульт управления | 0901-26-20-20СП(SP) | ||||
| 11 | Тройник | 311102-26-509СП(SP) | ||||
| 11 | Тройник | 311102-26-509-20СП | ||||
| 7 | Угольник | 311102-26-514-02СП(SP) | ||||
| 7 | Угольник | 311102-26-514-02-20СП | ||||
| 14 | Рукав ?8 | 311102-26-517-01СП(SP) | ||||
| 14 | Рукав ?8 | 311102-26-517-01-20СП | ||||
| 18 | Рукав ?8 | 311102-26-517-03СП(SP) | ||||
| 18 | Рукав ?8 | 311102-26-517-03-20СП | ||||
| 1 | Рукав ?8 | 311102-26-517-04СП(SP) | ||||
| 1 | Рукав ?8 | 311102-26-517-04-20СП | ||||
| 20 | Рукав ?8 | 311102-26-517-12СП(SP) | ||||
| 20 | Рукав ?8 | 311102-26-517-12-20СП | ||||
| 13 | Рукав ?8 | 311102-26-517-14СП(SP) | ||||
| 13 | Рукав ?8 | 311102-26-517-14-20СП | ||||
| 3 | Рукав ?8 | 311102-26-517-22СП(SP) | ||||
| 3 | Рукав ?8 | 311102-26-517-22-20СП | ||||
| 19 | Рукав ?8 | 311102-26-517-37СП(SP) | ||||
| 19 | Рукав ?8 | 311102-26-517-37-20СП | ||||
| 15 | Рукав ?8 | 311102-26-517-39СП(SP) | ||||
| 15 | Рукав ?8 | 311102-26-517-39-20СП | ||||
| 12 | Рукав ?8 | 311102-26-517-40СП(SP) | ||||
| 12 | Рукав ?8 | 311102-26-517-40-20СП | ||||
| 6 | Блок управления | 1106-10-146СП(SP) | ||||
| 6 | Блок управления | 1106-10-146-20СП(SP) | ||||
| 5 | Штуцер ввертной | 0901-26-24 | ||||
| 5 | Штуцер ввертной | 0901-26-24-20 | ||||
| 16 | Основание | 0901-24-60 | ||||
| 16 | Основание | 0901-24-60-20 | ||||
| 4 | Шайба специальная | 0602-28-136 | ||||
| 21 | Винт ВМ6-6g?12 | - | ||||
| 9 | Винт ВМ8-6?18 | - | ||||
| 17 | Винт ВМ6-6?16 ГОСТ 17475-80 | - | ||||
| 22 | Шайба 6Т | - | ||||
| 10 | Шайба 8Т | - | ||||
| 2 | Кольцо 008-010-14-2-3 ГОСТ 18829-73 | - | ||||
| 8 | Клапан В-2ТН6L06-10/МО1 | - | ||||
Обращаем Ваше внимание, что пункты отмеченные звездочкой, обязательны для заполнения.