| ||||||
| № п/п | Наименование | Код детали | ||||
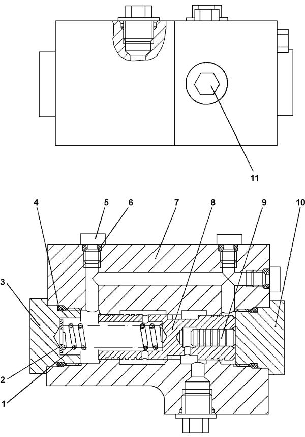
| 0 | Клапан | 0901-26-25СП(SP) | ||||
| 0 | Клапан | 0901-26-25-20СП(SP) | ||||
| 7 | Корпус | 0901-26-1 | ||||
| 9 | Плунжер | 312501-26-167 | ||||
| 8 | Золотник | 3501-26-22 | ||||
| 5 | Пробка | 37 5245 | ||||
| 5 | Пробка | 37 5245-20 | ||||
| 10 | Пробка | 37 5950-01 | ||||
| 3 | Пробка | 37 5950 | ||||
| 1 | Пружина | 38 5275 | ||||
| 11 | Заглушка | 44 0057 | ||||
| 2 | Шайба 10 | 31 0170 | ||||
| Шайба 10 | 31 0170-20 | |||||
| 6 | Кольцо 007-011-25-2-51-1668 | - | ||||
| 4 | Кольцо 032-038-36-2-51-1668 | - | ||||
Обращаем Ваше внимание, что пункты отмеченные звездочкой, обязательны для заполнения.