| ||||||
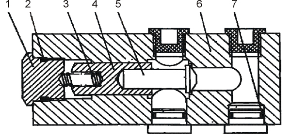
| № п/п | Наименование | Код детали | ||||
| 0 | Клапан | 0901-26-26СП(SP) | ||||
| 0 | Клапан | 0901-26-26-20СП(SP) | ||||
| 6 | Корпус | 0901-26-2* | ||||
| 4 | Плунжер | 2001-26-275* | ||||
| 5 | Клапан | 2001-26-276-01 | ||||
| 1 | Пробка | 37 5952 | ||||
| 1 | Пробка | 37 5952-20 | ||||
| 3 | Пружина | 38 5120 | ||||
| 7 | Кольцо 022-028-36-2-51-1668 | - | ||||
| 2 | Кольцо 032-038-36-2-51-1668 | - | ||||
Обращаем Ваше внимание, что пункты отмеченные звездочкой, обязательны для заполнения.