8 (391) 285-35-15
8 (391) 259-62-06
8 (391) 259-62-49
 info@in124.ru
USD: 79,4495EUR: 93,2274
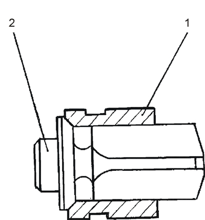
Клапан
№ п/пНаименованиеКод детали
УХЛ
Т
У
0Клапан0901-26-508СП(SP)
1
1
0
1Втулка0901-26-517
1
1
0
2Втулка0901-26-518
1
1
0

© ООО Инженерные машины, 2016