| ||||||
| № п/п | Наименование | Код детали | ||||
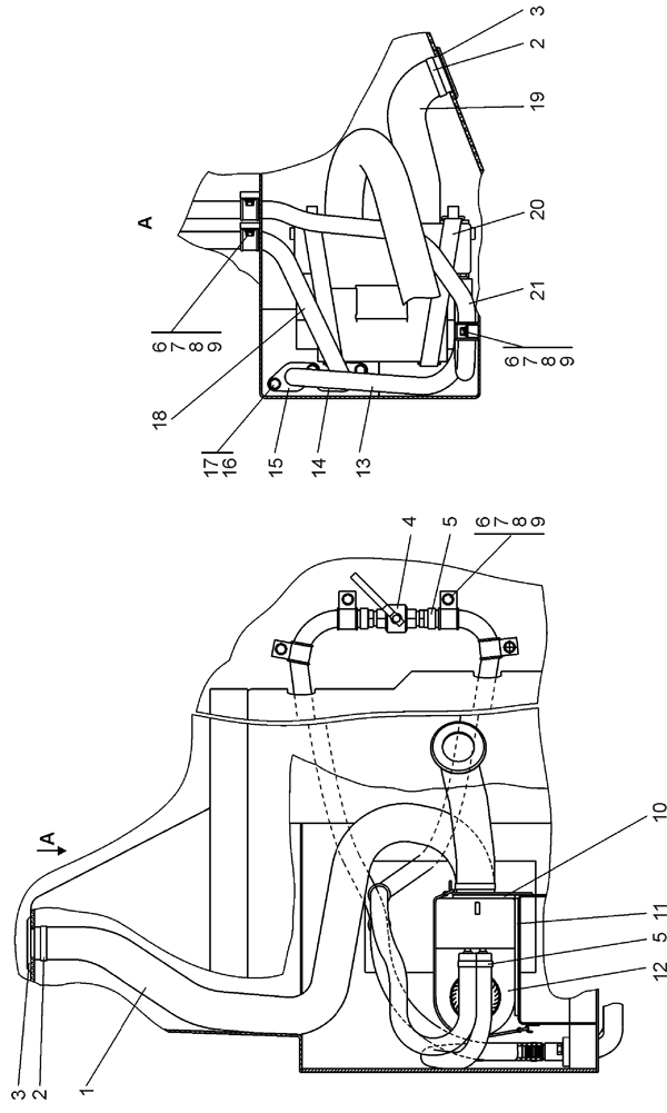
| 0 | Установка зависимого отопителя кабины | 0901-47-2СП(SP) | ||||
| 14 | Трубопровод | 0901-47-78-01СП(SP) | ||||
| 15 | Трубопровод | 0901-47-78СП(SP) | ||||
| 4 | Кран | 1101-47-11СП(SP) | ||||
| 11 | Прокладка | 40 0491 | ||||
| 10 | Прокладка | 40 0492 | ||||
| 13 | Рукав | 46 0601-17 | ||||
| 18 | Рукав | 46 0601-41 | ||||
| 21 | Рукав | 46 0601-42 | ||||
| 6 | Прокладка | 700-40-6927 | ||||
| 7 | Хомутик | 700-41-3307 | ||||
| 8 | Болт М8-6g?16 | - | ||||
| 17 | Болт М10-6g?30 | - | ||||
| 9 | Шайба 8Т | - | ||||
| 16 | Шайба 10 ОТ | - | ||||
| 5 | Шланговый хомут DIN 3017-AS20-32/12C7-W2 | - | ||||
| 2 | Шланговый хомут DIN 3017-AS70-90/12C7-W2 | - | ||||
| 12 | Отопитель зависимый Xeros 4000ref.06* | - | ||||
| 3 | Сопло 33031311* | - | ||||
| 1 | Гофрошланг 174025000* | - | ||||
| 19 | Гофрошланг 174025000* | - | ||||
| 20 | Ремень 2105-1311090* | - | ||||
Обращаем Ваше внимание, что пункты отмеченные звездочкой, обязательны для заполнения.