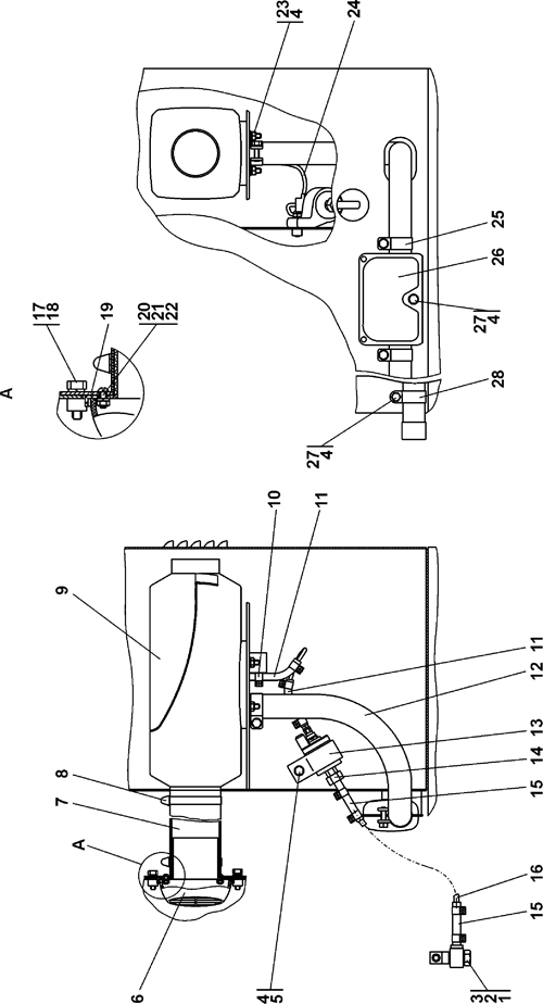
| ||||||
| № п/п | Наименование | Код детали | ||||
| 0 | Установка независимого отопителя кабины | 0901-53-1СП(SP) | ||||
| 3 | Штуцер | 2001-53-71СП(SP) | ||||
| 19 | Пластина | 0901-53-1 | ||||
| 2 | Болт зажимной | 41 5125 | ||||
| 1 | Прокладка | 46-43-313 | ||||
| 17 | Болт М8–6g?20 ГОСТ 7796-70 | - | ||||
| 20 | Винт В.М4–6g?10 ГОСТ 17473-80 | - | ||||
| 21 | Гайка М4 ГОСТ 5927-70 | - | ||||
| 22 | Шайба 4 | - | ||||
| 18 | Шайба 8Т | - | ||||
| 8 | * Хомут стяжной червячный | - | ||||
| 9 | ** Отопитель независимый Airtronic D2 | 25 2116 05 0000 | ||||
| 14 | * Насос топливный | - | ||||
| 26 | * Глушитель | - | ||||
| 13 | * Держатель насоса | - | ||||
| 6 | *Воздухораспределитель | - | ||||
| 7 | * Труба гибкая d=60 мм | - | ||||
| 12 | * Труба гибкая d=25 мм | - | ||||
| 11 | * Рукав 3,5?9,5 | - | ||||
| 15 | * Рукав 5?3 | - | ||||
| 24 | * Труба пластиковая 4?1,25 | - | ||||
| 16 | * Труба пластиковая 6?2 | - | ||||
| 10 | * Хомут стяжной | - | ||||
| 25 | * Хомут стяжной | - | ||||
| 28 | * Хомут | - | ||||
| 27 | * Болт М6?12 | - | ||||
| 5 | * Болт М6?30 | - | ||||
| 23 | * Гайка М6 | - | ||||
| 4 | * Шайба d=6,5 мм | - | ||||
Обращаем Ваше внимание, что пункты отмеченные звездочкой, обязательны для заполнения.