| ||||||
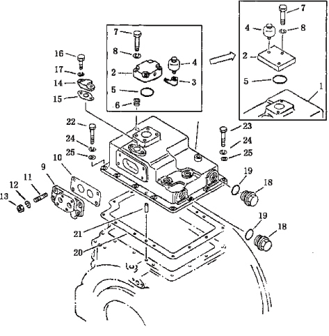
| № п/п | Наименование | Код детали | SD16 | SD16E | SD16L | |
| 1 | Кратер | 144-15-25512 | 1 | 1 | 1 | |
| 2 | Блок | 144-15-21670 | 1 | 1 | 1 | |
| 3 | Штуцер | 07323-30200 | 1 | 1 | 1 | |
| 4 | Сапун | 07030-00252 | 1 | 1 | 1 | |
| 5 | Кольцо круглого сечения | 07000-03048 | 1 | 1 | 1 | |
| 6 | Втулка резьбовая | 01190-01008 | 4 | 4 | 4 | |
| 7 | Болт | 01010-31045 | 4 | 4 | 4 | |
| 8 | Шайба | 01602-01030 | 4 | 4 | 4 | |
| 9 | Крышка | 175-15-45530 | 1 | 1 | 1 | |
| 10 | Сальник | 175-15-45540 | 1 | 1 | 1 | |
| 11 | Крышка резьбовая | 01124-31025 | 4 | 4 | 4 | |
| 12 | Шайба | 01602-01030 | 4 | 4 | 4 | |
| 13 | Гайка | 01580-01008 | 4 | 4 | 4 | |
| 14 | Крышка | 145-15-45830 | 1 | 1 | 1 | |
| 15 | Сальник | 145-15-45840 | 1 | 1 | 1 | |
| 16 | Болт | 01010-30825 | 2 | 2 | 2 | |
| 17 | Шайба | 01602-00825 | 2 | 2 | 2 | |
| 18 | Пробка | 144-15-25530 | 2 | 2 | 2 | |
| 19 | Кольцо круглого сечения | 07002-03634 | 2 | 2 | 2 | |
| 20 | Сальник | 144-15-25520 | 1 | 1 | 1 | |
| 21 | Штифт установочный | 04020-01024 | 2 | 2 | 2 | |
| 22 | Болт | 01010-31030 | 12 | 12 | 12 | |
| 23 | Болт | 01010-31040 | 2 | 2 | 2 | |
| 24 | Шайба | 01602-01030 | 14 | 14 | 14 | |
| 25 | Шайба | 01640-21016 | 14 | 14 | 14 | |
Обращаем Ваше внимание, что пункты отмеченные звездочкой, обязательны для заполнения.