| ||||||
| № п/п | Наименование | Код детали | SD16 | SD16E | SD16L | |
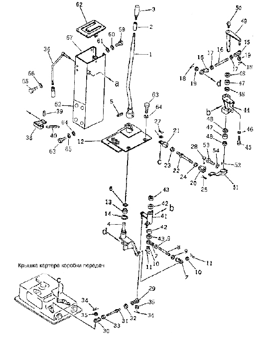
| 1 | Рычаг управления | 16Y-25C-04000 | 1 | 1 | 1 | |
| 2 | Втулка | 09361-01460 | 1 | 1 | 1 | |
| 3 | Кнопка | 09304-01240 | 1 | 1 | 1 | |
| 4 | Рычаг | 16Y-25C-05000 | 1 | 1 | 1 | |
| 5 | Палец | 04025-00532 | 1 | 1 | 1 | |
| 6 | Кольцо стопорное | 04064-020 L2 | 1 | 1 | 1 | |
| 7 | Подшипник концевой | 04250-41056 | 2 | 2 | 2 | |
| 8 | Тяга | 04248-31011 | 1 | 1 | 1 | |
| 9 | Гайка | 01582-11008 | 2 | 2 | 2 | |
| 10 | Гайка | 01593-11008 | 2 | 2 | 2 | |
| 11 | Чека разводная | 04050-12018 | 2 | 2 | 2 | |
| 12 | Пол | 16Y-25C-06000 | 1 | 1 | 1 | |
| 13 | Подшипник концевой GE20ES | GB3045-81 | 1 | 1 | 1 | |
| 14 | Кольцо стопорное | 04065-03715 | 1 | 1 | 1 | |
| 15 | Подшипник концевой | 04250-41056 | 2 | 2 | 2 | |
| 16 | Тяга | 04248-31011 | 1 | 1 | 1 | |
| 17 | Гайка | 01582-11008 | 2 | 2 | 2 | |
| 18 | Чека разводная | 04050-12018 | 2 | 2 | 2 | |
| 19 | Гайка | 01593-11008 | 2 | 2 | 2 | |
| 20 | Деталь соединительная | 16Y-25-00003 | 1 | 1 | 1 | |
| 21 | Деталь соединительная | 16Y-25-00004 | 1 | 1 | 1 | |
| 22 | Тяга | 04248-31009 | 1 | 1 | 1 | |
| 23 | Гайка | 01582-11008 | 1 | 1 | 1 | |
| 24 | Гайка с левосторонней резьбой | 01508-21006 | 1 | 1 | 1 | |
| 25 | Чека разводная | 04050-12018 | 1 | 1 | 1 | |
| 26 | Шайба | 01641-21016 | 1 | 1 | 1 | |
| 27 | Чека разводная | 04050-13020 | 1 | 1 | 1 | |
| 28 | Палец | 04205-11028 | 1 | 1 | 1 | |
| 29 | Подшипник концевой | 04250-41056 | 1 | 1 | 1 | |
| 30 | Подшипник концевой (левосторонняя резьба) | 04250-61056 | 1 | 1 | 1 | |
| 31 | Тяга | 04248-31013 | 1 | 1 | 1 | |
| 32 | Гайка | 01582-11008 | 1 | 1 | 1 | |
| 33 | Гайка с левосторонней резьбой | 01508-21006 | 1 | 1 | 1 | |
| 34 | Чека разводная | 04050-12018 | 2 | 2 | 2 | |
| 35 | Гайка | 01593-11008 | 2 | 2 | 2 | |
| 36 | Рычаг | 16Y-25C-03000 | 1 | 1 | 1 | |
| 37 | Кнопка | 09305-00800 | 1 | 1 | 1 | |
| 38 | Пластина стопорная | 16Y-25C-02000 | 1 | 1 | 1 | |
| 39 | Палец | 04025-00322 | 1 | 1 | 1 | |
| 40 | Пружина | 10Y-25-00001 | 1 | 1 | 1 | |
| 41 | Рычаг | 16Y-25-10000 | 1 | 1 | 1 | |
| 42 | Подшипник игольчатый 57941/20 | GB290-82 | 2 | 2 | 2 | |
| 43 | Уплотнение пылезащитное | 06122-02004 | 2 | 2 | 2 | |
| 44 | Кронштейн | 16Y-25-09000 | 1 | 1 | 1 | |
| 45 | Болт | 01010-51230 | 2 | 2 | 2 | |
| 46 | Шайба пружинная | 01602-21236 | 2 | 2 | 2 | |
| 47 | Подшипник игольчатый | GB290-82 | 2 | 2 | 2 | |
| 48 | Уплотнение пылезащитное | 06122-02004 | 4 | 4 | 4 | |
| 49 | Рычаг | 16Y-15-08000 | 1 | 1 | 1 | |
| 50 | Пресс-масленка | 07021-01090 | 1 | 1 | 1 | |
| 51 | Рычаг | 16Y-25-05000 | 1 | 1 | 1 | |
| 52 | Шпонка | 04010-00519 | 1 | 1 | 1 | |
| 53 | Болт | 01010-50830 | 1 | 1 | 1 | |
| 54 | Шайба | 01602-20825 | 1 | 1 | 1 | |
| 55 | Винт | 01220-30816 | 4 | 4 | 4 | |
| 56 | Шайба | 01643-30823 | 4 | 4 | 4 | |
| 57 | Корпус | 16Y-25C-01000 | 1 | 1 | 1 | |
| 58 | Болт | 01010-31230 | 3 | 3 | 3 | |
| 59 | Шайба | 01602-31236 | 3 | 3 | 3 | |
| 60 | Шайба | 01643-31232 | 3 | 3 | 3 | |
| 61 | Направляющая | 154-43-43110 | 1 | 1 | 1 | |
| 62 | Пластина | 16Y-25C-00001 | 1 | 1 | 1 | |
| 63 | Болт | 01010-31230 | 6 | 6 | 6 | |
| 64 | Шайба | 01643-31232 | 6 | 6 | 6 | |
| 65 | Шайба | 01602-31236 | 4 | 4 | 4 | |
Обращаем Ваше внимание, что пункты отмеченные звездочкой, обязательны для заполнения.