| ||||||
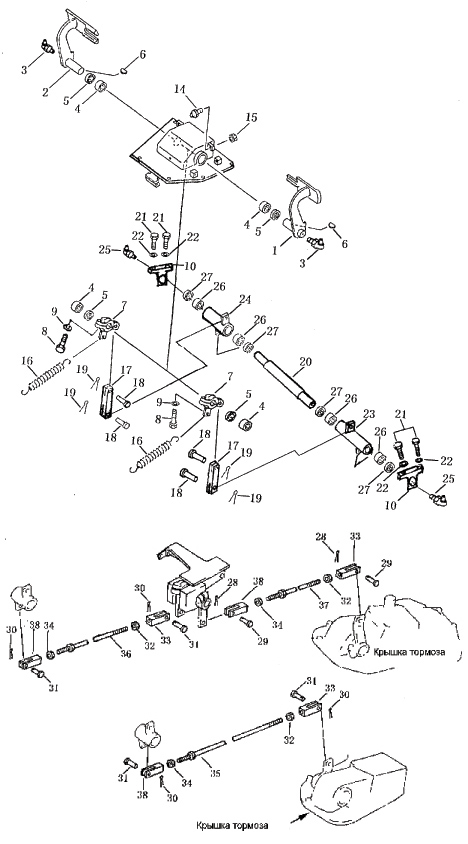
| № п/п | Наименование | Код детали | SD16 | SD16E | SD16L | |
| 1 | Педаль левая | 16Y-26C-01000 | 1 | 1 | 1 | |
| 2 | Педаль правая | 16Y-26C-02000 | 1 | 1 | 1 | |
| 3 | Пресс-масленка | 07021-01090 | 2 | 2 | 2 | |
| 4 | Подшипник | HK354220 | 4 | 4 | 4 | |
| 5 | Кольцо пылезащитное | 01622-03504 | 4 | 4 | 4 | |
| 6 | Шпонка | 04010-01032 | 2 | 2 | 2 | |
| 7 | Рычаг | 10Y-26-13000 | 2 | 2 | 2 | |
| 8 | Болт | 01010-51235 | 2 | 2 | 2 | |
| 9 | Шайба | 01643-31232 | 2 | 2 | 2 | |
| 10 | Кронштейн | 10Y-26-00003 | 2 | 2 | 2 | |
| 14 | Болт демпферный | 09311-41237 | 2 | 2 | 2 | |
| 15 | Гайка | 01580-11210 | 2 | 2 | 2 | |
| 16 | Пружина | 154-43-41260 | 2 | 2 | 2 | |
| 17 | Деталь соединительная | 10Y-26-00004 | 2 | 2 | 2 | |
| 18 | Палец | 04205-11440 | 4 | 4 | 4 | |
| 19 | Чека разводная | 04050-14022 | 4 | 4 | 4 | |
| 20 | Ось | 10Y-26-00007 | 1 | 1 | 1 | |
| 21 | Болт | 01010-51225 | 4 | 4 | 4 | |
| 22 | Шайба | 01643-31232 | 4 | 4 | 4 | |
| 23 | Рычаг левый | 16Y-26C-08000 | 1 | 1 | 1 | |
| 24 | Рычаг правый | 16Y-26C-09000 | 1 | 1 | 1 | |
| 25 | Пресс-масленка | 07021-01090 | 2 | 2 | 2 | |
| 26 | Подшипник | HK303720 | 4 | 4 | 4 | |
| 27 | Кольцо пылезащитное | 06122-03004 | 4 | 4 | 4 | |
| 28 | Чека разводная | 04050-13018 | 2 | 2 | 2 | |
| 29 | Палец | 04205-11028 | 2 | 2 | 2 | |
| 30 | Чека разводная | 04050-14022 | 4 | 4 | 4 | |
| 31 | Палец | 04205-11440 | 4 | 4 | 4 | |
| 32 | Гайка | 01508-21408 | 3 | 3 | 3 | |
| 33 | Вилка | 04221-21478 | 3 | 3 | 3 | |
| 34 | Гайка | 01582-11411 | 3 | 3 | 3 | |
| 35 | Тяга | 16Y-26C-00003 | 1 | 1 | 1 | |
| 36 | Тяга | 04248-31420 | 1 | 1 | 1 | |
| 37 | Тяга | 04248-31442 | 1 | 1 | 1 | |
| 38 | Вилка | 04211-21478 | 3 | 3 | 3 | |
Обращаем Ваше внимание, что пункты отмеченные звездочкой, обязательны для заполнения.