| ||||||
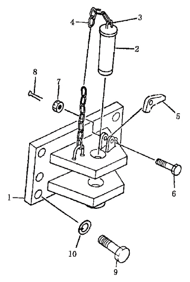
| № п/п | Наименование | Код детали | SD16 | SD16E | SD16L | |
| 1 | Кронштейн сцепки | 16Y-32-10000 | 1 | 1 | 1 | |
| 2 | Палец | 09247-45180 | 1 | 1 | 1 | |
| 3 | Кольцо | 16Y-32-00001 | 2 | 2 | 2 | |
| 4 | Цепь | 09245-04830 | 1 | 1 | 1 | |
| 5 | Запор | 16Y-32-00002 | 1 | 1 | 1 | |
| 6 | Болт | 01052-31260 | 1 | 1 | 1 | |
| 7 | Гайка | 01592-01215 | 1 | 1 | 1 | |
| 8 | Чека разводная | 04050-03025 | 1 | 1 | 1 | |
| 9 | Болт | 01010-32465 | 6 | 6 | 6 | |
| 10 | Шайба | 01602-02472 | 6 | 6 | 6 | |
Обращаем Ваше внимание, что пункты отмеченные звездочкой, обязательны для заполнения.