| ||||||
| № п/п | Наименование | Код детали | SD16 | SD16E | SD16L | |
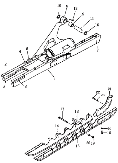
| 1 | Рама левой гусеницы | 16Y-40-01000 | 1 | 1 | - | |
| 1 | Рама левой гусеницы | 16Y-40E-01000 | 1 | 1 | - | |
| 1 | Рама правой гусеницы | 16Y-40-02000 | 1 | 1 | - | |
| 1 | Рама правой гусеницы | 16Y-40E-02000 | 1 | 1 | - | |
| 2 | Пластина фрикционная верхняя | 16Y-40-01024 | 4 | 4 | - | |
| 3 | Пластина фрикционная нижняя | 16Y-40-01022 | 4 | 4 | - | |
| 4 | Пластина | 16Y-40-01039 | 4 | 4 | - | |
| 5 | Прокладка | 16Y-40-01040 | 2 | 2 | - | |
| 6 | Пластина фрикционная боковая | 16Y-40-01023 | 4 | 4 | - | |
| 7 | Пластина | 16Y-40-01003 | 2 | 2 | - | |
| 8 | Задний конец опорной пластины | 16Y-40-01200 | 2 | 2 | - | |
| 9 | Втулка | 16Y-40-00006 | 2 | 2 | - | |
| 10 | Уплотнение масляное | 16Y-40-18000 | 4 | 4 | - | |
| 11 | Палец | 16Y-40-00005 | 2 | 2 | - | |
| 12 | Пресс-масленка | 07020-01018 | 2 | 2 | - | |
| 13 | Пластина защитная внешняя, левая | 16Y-40-14000 | 1 | 1 | - | |
| 13 | Пластина защитная внешняя, левая | 16Y-40E-40000 | 1 | 1 | - | |
| 13 | Пластина защитная внешняя, правая | 16Y-40-15000 | 1 | 1 | - | |
| 13 | Пластина защитная внешняя, правая | 16Y-40E-50000 | 1 | 1 | - | |
| 14 | Пластина защитная внутренняя, левая | 16Y-40-16000 | 1 | 1 | - | |
| 14 | Пластина защитная внутренняя, левая | 16Y-40E-60000 | 1 | 1 | - | |
| 14 | Пластина защитная внутренняя, правая | 16Y-40-17000 | 1 | 1 | - | |
| 14 | Пластина защитная внутренняя, правая | 16Y-40E-70000 | 1 | 1 | - | |
| 15 | Болт | 01010-31840 | 48 | 48 | - | |
| 16 | Шайба | 01602-01845 | 48 | 48 | - | |
| 17 | Болт | 16Y-40-00003 | 10 | 10 | - | |
| 18 | Манжета | 16Y-40-00004 | 10 | 10 | - | |
| 19 | Шайба | 01602-01854 | 10 | 10 | - | |
| 20 | Гайка | 01580-01815 | 10 | 10 | - | |
| 21 | 16Y-18-00043 | 1 | 1 | - | ||
| 21 | 16Y-18-00044 | 1 | 1 | - | ||
| 22 | 01010-32050 | 8 | 8 | - | ||
| 23 | 01602-02060 | 8 | 8 | - | ||
Обращаем Ваше внимание, что пункты отмеченные звездочкой, обязательны для заполнения.