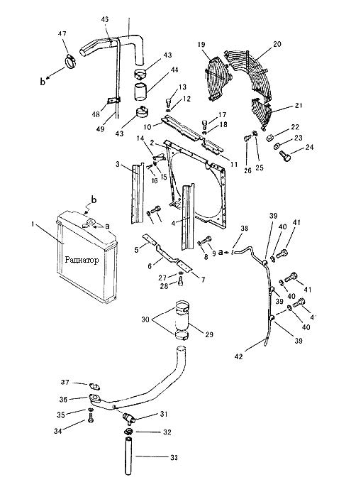
| ||||||
| № п/п | Наименование | Код детали | SD16 | SD16E | SD16L | |
| 1 | Радиатор в сборе | 16Y-03A-03000 | 1 | 1 | 1 | |
| 2 | Броня защитная | 16Y-03A-09000 | 1 | 1 | 1 | |
| 3 | Деталь кожуха радиатора правая | 16Y-03A-07000 | 1 | 1 | 1 | |
| 4 | Деталь кожуха радиатора левая | 16Y-03A-02000 | 1 | 1 | 1 | |
| 5 | Деталь кожуха радиатора | 16Y-03A-13000 | 1 | 1 | 1 | |
| 6 | Деталь кожуха радиатора | 16Y-03A-1200G | 1 | 1 | 1 | |
| 7 | Деталь кожуха радиатора | 16Y-03A-11000 | 1 | 1 | 1 | |
| 8 | Шайба | 01643-31032 | 12 | 12 | 12 | |
| 9 | Болт | 01010-51040 | 12 | 12 | 12 | |
| 10 | Деталь кожуха радиатора верхняя | 16Y-03A-05000 | 1 | 1 | 1 | |
| 11 | Деталь кожуха радиатора верхняя | 16Y-03A-06000 | 1 | 1 | 1 | |
| 12 | Шайба | 01643-31032 | 3 | 3 | 3 | |
| 13 | Болт | 01010-51030 | 3 | 3 | 3 | |
| 14 | Штифт установочный | 16Y-03A-15000 | 1 | 1 | 1 | |
| 15 | Шайба | 01643-31032 | 1 | 1 | 1 | |
| 16 | Болт | 01010-51030 | 1 | 1 | 1 | |
| 17 | Болт | 01010-51030 | 1 | 1 | 1 | |
| 18 | Шайба | 01643-31032 | 2 | 2 | 2 | |
| 19 | Деталь кожуха радиатора правая | 16Y-03A-10000 | 1 | 1 | 1 | |
| 20 | Деталь кожуха радиатора средняя | 16Y-03A-08000 | 1 | 1 | 1 | |
| 21 | Деталь кожуха радиатора левая | 16Y-03B-06000 | 1 | 1 | 1 | |
| 22 | Гайка | 01580-11008 | 3 | 3 | 3 | |
| 23 | Шайба | 01643-31032 | 7 | 7 | 7 | |
| 24 | Болт | 01010-51030 | 3 | 3 | 3 | |
| 25 | Шайба | 01643-31032 | 5 | 5 | 5 | |
| 26 | Болт | 01010-51030 | 5 | 5 | 5 | |
| 27 | Шайба | 01643-31032 | 6 | 6 | 6 | |
| 28 | Болт | 01010-51030 | 6 | 6 | 6 | |
| 29 | Шланг | 16Y-03B-00007 | 1 | 1 | 1 | |
| 30 | Хомут | 07281-00809 | 2 | 2 | 2 | |
| 31 | Клапан спускной | 16Y-03B-01000 | 1 | 1 | 1 | |
| 32 | Хомут | 07280-01620 | 1 | 1 | 1 | |
| 33 | Шланг | 16Y-03B-00001 | 1 | 1 | 1 | |
| 34 | Болт | 01010-51030 | 6 | 6 | 6 | |
| 35 | Шайба | 01602-31032 | 6 | 6 | 6 | |
| 36 | Патрубок | 16Y-03B-02000 | 1 | 1 | 1 | |
| 37 | Шайба резиновая | 16Y-03B-00002 | 1 | 1 | 1 | |
| 38 | Проволока ?1 L=100 | GB3206-82 | 1 | 1 | 1 | |
| 39 | Хомут | 08036-21214 | 3 | 3 | 3 | |
| 40 | Шайба | 01643-31032 | 12 | 12 | 12 | |
| 41 | Болт | 01010-51040 | 12 | 12 | 12 | |
| 42 | Шланг | 16Y-03A-00002 | 1 | 1 | 1 | |
| 43 | Хомут | 07281-00809 | 2 | 2 | 2 | |
| 44 | Шланг | 16Y-03B-00007 | 1 | 1 | 1 | |
| 45 | Трубка в сборе | 16Y-03B-04000 | 1 | 1 | 1 | |
| 46 | Проволока ?1,6 L=300 | GB3208-82 | 1 | 1 | 1 | |
| 47 | Хомут | 07281-00909 | 1 | 1 | 1 | |
| 48 | Хомут | 08035-01512 | 1 | 1 | 1 | |
| 49 | Шланг | 16Y-03B-00003 | 1 | 1 | 1 | |
Обращаем Ваше внимание, что пункты отмеченные звездочкой, обязательны для заполнения.