| ||||||
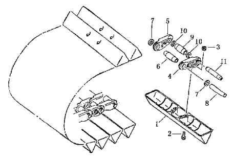
| № п/п | Наименование | Код детали | SD16 | SD16E | SD16L | |
| 0 | Гусеница в сборе | 16L-41-00000 | - | - | 2 | |
| 1 | Трак | 16L-41-00001 | - | - | 84 | |
| 2 | Болт гусеничного башмака | 161-41-00002 | - | - | 336 | |
| 3 | Гайка | JB/ZQ3745-86 | - | - | 336 | |
| 4 | Звено гусеничной цепи левой | A-203-510-03 | - | - | 84 | |
| 5 | Звено гусеничной цепи правой | A-203-510-02 | - | - | 84 | |
| 6 | Втулка обычная | A-203-510-04 | - | - | 80 | |
| 7 | Уплотнение пылезащитное | A-203-510-05 | - | - | 160 | |
| 8 | Палец обычный | A-203-510-06 | - | - | 80 | |
| 9 | Втулка главного пальца | A-203-510-07 | - | - | 4 | |
| 10 | Уплотнение пылезащитное | A-203-510-08 | - | - | 8 | |
| 11 | Палец главный | A-203-510-09 | - | - | 4 | |
Обращаем Ваше внимание, что пункты отмеченные звездочкой, обязательны для заполнения.