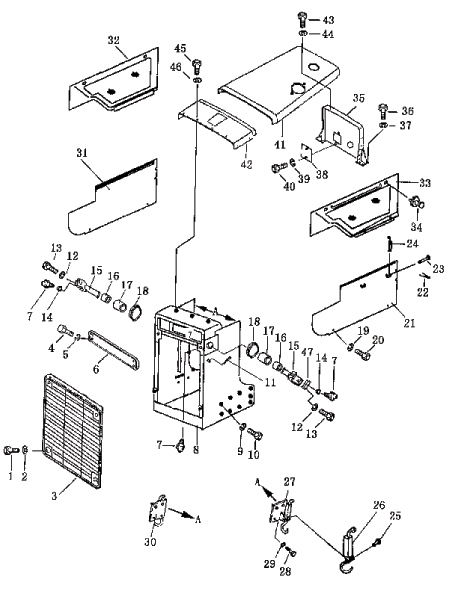
| ||||||
| № п/п | Наименование | Код детали | SD16 | SD16E | SD16L | |
| 1 | Болт | 01010-51440 | - | - | 4 | |
| 2 | Шайба | 01643-31445 | - | - | 4 | |
| 3 | Решетка | 16L-50C-01000 | - | - | 1 | |
| 4 | Болт | 01010-31030 | - | - | 4 | |
| 5 | Шайба | 01643-31032 | - | - | 4 | |
| 6 | Шильдик | 16Y-50C-00001 | - | - | 1 | |
| 7 | Пресс-масленка | 07020-01018 | - | - | 6 | |
| 8 | Деталь капота передняя | 16L-50C-03000 | - | - | 1 | |
| 9 | Шайба | 01643-32060 | - | - | 18 | |
| 10 | Болт | 01011-52025 | - | - | 18 | |
| 11 | Палец | 04050-18045 | - | - | 2 | |
| 12 | Шайба | 01643-31445 | - | - | 8 | |
| 13 | Болт | 01010-51470 | - | - | 8 | |
| 14 | Манжета | 16Y-85-00001 | - | - | 4 | |
| 15 | Вилка | 16Y-85-00003 | - | - | 2 | |
| 16 | Втулка | 16Y-85-40000 | - | - | 2 | |
| 17 | Втулка | 16Y-85-30000 | - | - | 2 | |
| 18 | Кольцо пылезащитное | 16Y-85-10000 | - | - | 2 | |
| 19 | Шайба | 01643-31232 | - | - | 8 | |
| 20 | Болт | 01010-31235 | - | - | 8 | |
| 21 | Деталь капота боковая левая | 16Y-50C-08000 | - | - | 1 | |
| 22 | Чека разводная | 04050-01208 | - | - | 4 | |
| 23 | Палец | 04205-00540 | - | - | 4 | |
| 24 | Крюк | 10Y-50-12000 | - | - | 4 | |
| 25 | Заклепка | 04412-00517 | - | - | 2 | |
| 26 | Крюк | 16Y-50-15000 | - | - | 2 | |
| 27 | Основание левое | 16Y-50-13000 | - | - | 1 | |
| 28 | Болт | 01010-51220 | - | - | 6 | |
| 29 | Шайба | 01643-31232 | - | - | 6 | |
| 30 | Основание правое | 16Y-50-14000 | - | - | 1 | |
| 31 | Деталь капота боковая правая | 16Y-50C-09000 | - | - | 1 | |
| 32 | Деталь капота боковая правая | 16L-50C-05000 | - | - | 1 | |
| 33 | Деталь капота боковая левая | 16L-50C-04000 | - | - | 1 | |
| 34 | Палец | 09459-00000 | - | - | 4 | |
| 35 | Подвеска | 16Y-50C-10000 | - | - | 1 | |
| 36 | Болт | 01010-51440 | - | - | 8 | |
| 37 | Шайба | 01643-31445 | - | - | 8 | |
| 38 | Крышка | 16Y-50C-00002 | - | - | 1 | |
| 39 | Шайба | 01643-30823 | - | - | 2 | |
| 40 | Болт | 01010-50814 | - | - | 2 | |
| 41 | Крышка верхняя (2) | 16Y-50C-05000 | - | - | 1 | |
| 42 | Крышка верхняя (1) | 16L-50C-02000 | - | - | 1 | |
| 43 | Болт | 01010-31235 | - | - | 5 | |
| 44 | Шайба | 01643-31232 | - | - | 5 | |
| 45 | Болт | 01010-51220 | - | - | 7 | |
| 46 | Шайба | 01643-31232 | - | - | 7 | |
| 47 | Крышка подшипника | 16Y-85-00002 | - | - | 4 | |
Обращаем Ваше внимание, что пункты отмеченные звездочкой, обязательны для заполнения.