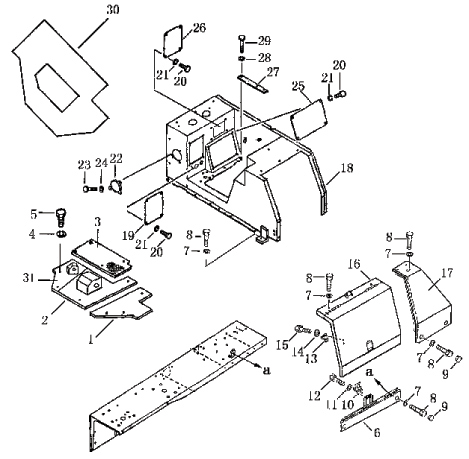
| ||||||
| № п/п | Наименование | Код детали | SD16 | SD16E | SD16L | |
| 1 | Пластина | 16Y-51C-00002 | 1 | 1 | 1 | |
| 2 | Кронштейн | 16Y-51C-10000 | 1 | 1 | 1 | |
| 3 | Пластина | 16Y-51C-00001 | 1 | 1 | 1 | |
| 4 | Шайба | 01643-31032 | 14 | 14 | 14 | |
| 5 | Болт | 01010-51230 | 14 | 14 | 14 | |
| 6 | Крышка | 16Y-51C-02000 | 1 | 1 | 1 | |
| 7 | Шайба | 01643-31232 | 11 | 11 | 11 | |
| 8 | Болт | 01010-51230 | 11 | 11 | 11 | |
| 9 | Колпачок | 198-54-41941 | 15 | 15 | 15 | |
| 10 | Кронштейн | 154-54-46150 | 1 | 1 | 1 | |
| 11 | Шайба | 01643-31232 | 2 | 2 | 2 | |
| 12 | Болт | 01010-51230 | 2 | 2 | 2 | |
| 13 | Пружина | 198-54-19150 | 1 | 1 | 1 | |
| 14 | Шайба | 01643-30623 | 2 | 2 | 2 | |
| 15 | Болт | 01010-50612 | 2 | 2 | 2 | |
| 16 | Корпус аккумулятора | 16Y-51C-01000 | 1 | 1 | 1 | |
| 17 | Крышка | 16Y-51C-03000 | 1 | 1 | 1 | |
| 18 | Кронштейн нижний | 16Y-51C-09000 | 1 | 1 | 1 | |
| 19 | Крышка | 16Y-51-12000 | 1 | 1 | 1 | |
| 20 | Болт | 01010-51225 | 12 | 12 | 12 | |
| 21 | Шайба | 01643-31232 | 12 | 12 | 12 | |
| 22 | Крышка | 16Y-51C-00004 | 1 | 1 | 1 | |
| 23 | Болт | 01010-50816 | 3 | 3 | 3 | |
| 24 | Шайба | 01643-30823 | 3 | 3 | 3 | |
| 25 | Крышка | 16Y-51-00008 | 1 | 1 | 1 | |
| 26 | Крышка | 16Y-51C-00003 | 1 | 1 | 1 | |
| 27 | Шайба | 16Y-5 1-00005 | 1 | 1 | 1 | |
| 28 | Шайба | 01643-31232 | 4 | 4 | 4 | |
| 29 | Болт | 01010-51270 | 4 | 4 | 4 | |
| 30 | Прокладка | 16Y-51O14000 | 1 | 1 | 1 | |
| 31 | Кронштейн | 16Y-51C-15000 | 1 | 1 | 1 | |
Обращаем Ваше внимание, что пункты отмеченные звездочкой, обязательны для заполнения.