| ||||||
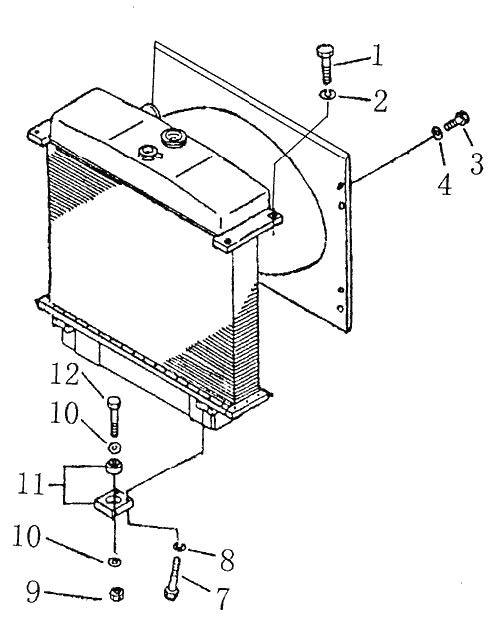
| № п/п | Наименование | Код детали | SD16 | SD16E | SD16L | |
| 1 | Болт | 01010-51445 | 4 | 4 | 4 | |
| 2 | Шайба | 01602-21442 | 4 | 4 | 4 | |
| 3 | Болт | 01010-51040 | 8 | 8 | 8 | |
| 4 | Шайба | 01643-31032 | 8 | 8 | 8 | |
| 7 | Болт | 01010-51240 | 4 | 4 | 4 | |
| 8 | Шайба | 01602-21236 | 4 | 4 | 4 | |
| 9 | Гайка | 01582-12218 | 2 | 2 | 2 | |
| 10 | Шайба | 01643-32260 | 4 | 4 | 4 | |
| 11 | Демпфер | 16Y-03B-03000 | 2 | 2 | 2 | |
| 12 | Болт M22?1,5?105 | 01091-52205 | 2 | 2 | 2 | |
Обращаем Ваше внимание, что пункты отмеченные звездочкой, обязательны для заполнения.