| ||||||
| № п/п | Наименование | Код детали | SD16 | SD16E | SD16L | |
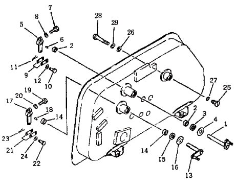
| 1 | Бак гидравлический | 16Y-60-00000 | 1 | 1 | 1 | |
| 1 | Ось | 16Y-60-08000 | 1 | 1 | 1 | |
| 2 | Подшипник игольчатый 57941/20 | GB290-82 | 2 | 2 | 2 | |
| 3 | Уплотнение масляное | 16Y-60-16000 | 1 | 1 | 1 | |
| 4 | Прокладка | 16Y-60-00006 | 1 | 1 | 1 | |
| 5 | Рычаг | 16Y-60-00015 | 1 | 1 | 1 | |
| 6 | Шпонка | 04010-00519 | 1 | 1 | 1 | |
| 7 | Болт | 01010-30830 | 1 | 1 | 1 | |
| 8 | Шайба | 01602-00825 | 1 | 1 | 1 | |
| 9 | Пластина | 16Y-60-00014 | 2 | 2 | 2 | |
| 10 | Палец | 04205-01028 | 2 | 2 | 2 | |
| 11 | Палец | 04050-03015 | 2 | 2 | 2 | |
| 12 | Шайба | 01641-01016 | 2 | 2 | 2 | |
| 13 | Ось | 16Y-60-07000 | 1 | 1 | 1 | |
| 14 | Подшипник игольчатый 57941/20 | GB290-82 | 2 | 2 | 2 | |
| 15 | Уплотнение масляное | 16Y-60-16000 | 1 | 1 | 1 | |
| 16 | Прокладка | 16Y-60-00006 | 1 | 1 | 1 | |
| 17 | Рычаг | 16Y-60-00004 | 1 | 1 | 1 | |
| 18 | Шпонка | 04010-00519 | 1 | 1 | 1 | |
| 19 | Болт | 01010-30830 | 1 | 1 | 1 | |
| 20 | Шайба | 01602-00825 | 1 | 1 | 1 | |
| 21 | Пластина | 16Y-60-00014 | 2 | 2 | 2 | |
| 22 | Палец | 04205-01028 | 2 | 2 | 2 | |
| 23 | Палец | 04050-03016 | 2 | 2 | 2 | |
| 24 | Шайба | 01641-01016 | 2 | 2 | 2 | |
| 25 | Пробка | 16Y-60-00007 | 1 | 1 | 1 | |
| 26 | Шайба | 16Y-60-00012 | 1 | 1 | 1 | |
| 27 | Кольцо круглого сечения | 07000-03020 | 1 | 1 | 1 | |
| 28 | Болт | 01010-31090 | 1 | 1 | 1 | |
| 29 | Шайба пружинная | 01602-01030 | 1 | 1 | 1 | |
Обращаем Ваше внимание, что пункты отмеченные звездочкой, обязательны для заполнения.