| ||||||
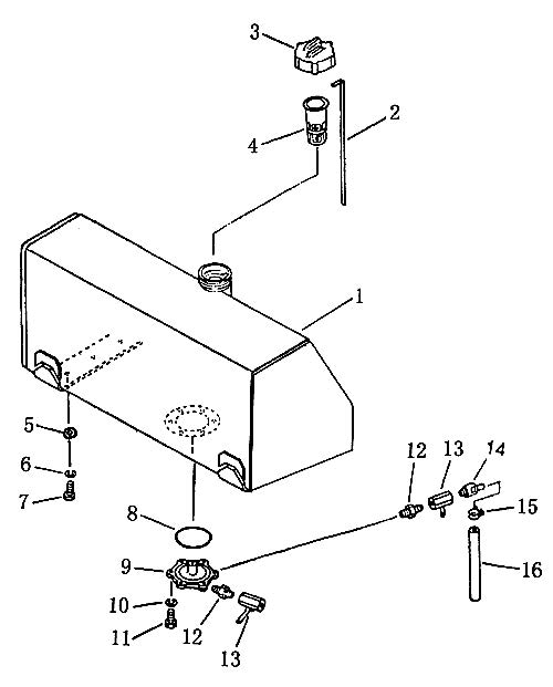
| № п/п | Наименование | Код детали | SD16 | SD16E | SD16L | |
| 1 | Бак топливный | 16Y-04C-01000 | 1 | 1 | 1 | |
| 2 | Шкала уровня топлива | 16Y-04-00001 | 1 | 1 | 1 | |
| 3 | Крышка заливной горловины | 07050-21200 | 1 | 1 | 1 | |
| 4 | Фильтр | 07056-18416 | 1 | 1 | 1 | |
| 5 | Шайба | 01641-21423 | 6 | 6 | 6 | |
| 6 | Шайба | 01602-01442 | 6 | 6 | 6 | |
| 7 | Болт | 01010-31435 | 6 | 6 | 6 | |
| 8 | Кольцо круглого сечения | 07000-02135 | 1 | 1 | 1 | |
| 9 | Фланец | 16Y-04-00006 | 1 | 1 | 1 | |
| 10 | Шайба | 01602-01030 | 6 | 6 | 6 | |
| 11 | Болт | 01010-31025 | 6 | 6 | 6 | |
| 12 | Штуцер | 16Y-04-00007 | 2 | 2 | 2 | |
| 13 | Клапан | 07700-40460 | 2 | 2 | 2 | |
| 14 | Штуцер | 16Y-04-00008 | 1 | 1 | 1 | |
| 15 | Хомут | 07280-01210 | 1 | 1 | 1 | |
| 16 | Трубка | 07270-01265 | 1 | 1 | 1 | |
Обращаем Ваше внимание, что пункты отмеченные звездочкой, обязательны для заполнения.