| ||||||
| № п/п | Наименование | Код детали | SD16 | SD16E | SD16L | |
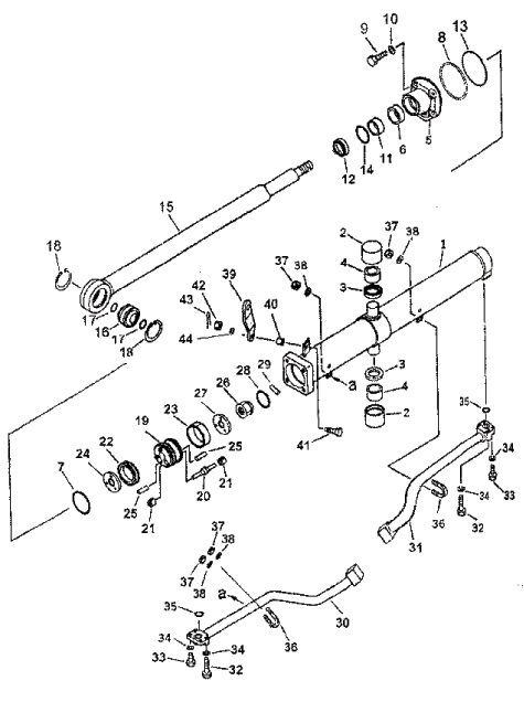
| 1 | Гидроцилиндр подъема отвала левый | 16Y-62-50000 | 1 | - | - | |
| 1 | Гидроцилиндр подъема отвала левый | 16Y-62E-10000 | - | 1 | - | |
| 1 | Гидроцилиндр подъема отвала правый | 16Y-62-60000 | 1 | - | - | |
| 1 | Гидроцилиндр подъема отвала правый | 1 6 Y-62E-20000 | - | 1 | - | |
| 1 | Корпус левого гидроцилиндра | 16Y-62-50400 | 1 | - | - | |
| 1 | Корпус левого гидроцилиндра | 16Y-62E-12000 | - | 1 | - | |
| 1 | Корпус правого гидроцилиндра | 16Y-62-60200 | 1 | - | - | |
| 1 | Корпус правого гидроцилиндра | 16Y-62E-22000 | - | 1 | - | |
| 2 | Втулка | 16Y-62-50002 | 4 | 4 | - | |
| 3 | Кольцо пылезащитное | 07145-00055 | 4 | 4 | - | |
| 4 | Втулка | 16Y-62-50500 | 4 | 4 | - | |
| 5 | Втулка направляющая | 16Y-62-50005 | 2 | 2 | - | |
| 6 | Кольцо направляющее | 16Y-62-50003 | 2 | 2 | - | |
| 7 | Кольцо круглого сечения | 07000-13038 | 2 | 2 | - | |
| 8 | Кольцо защитное | 07146-02106 | 2 | 2 | - | |
| 9 | Болт | 01010-52055 | 8 | 8 | - | |
| 10 | Шайба пружинная | 01602-22060 | 8 | 8 | - | |
| 11 | Сальник | 16Y-62-50200 | 2 | 2 | - | |
| 12 | Кольцо пылезащитное | 16Y-62-50001 | 2 | 2 | - | |
| 13 | Кольцо круглого сечения | 07000-12105 | 2 | 2 | - | |
| 14 | Кольцо | 16Y-62-50008 | 2 | 2 | - | |
| 15 | Шток поршня | 16Y-62-50100 | 2 | 2 | - | |
| 16 | Подшипник соединительный | 07137-04006 | 2 | 2 | - | |
| 17 | Кольцо круглого сечения | 07000-13040 | 4 | 4 | - | |
| 18 | Кольцо стопорное | 04065-09030 | 4 | 4 | - | |
| 19 | Поршень | 16Y-62-50800 | 2 | 2 | - | |
| 20 | Стержень клапана | 16Y-62-50803 | 6 | 6 | - | |
| 21 | Седло клапана | 16Y-62-50802 | 12 | 12 | - | |
| 22 | Кольцо | 16Y-62-50700 | 2 | 2 | - | |
| 23 | Кольцо опорное | 16Y-62-50009 | 4 | 4 | - | |
| 24 | Пластина стопорная | 16Y-62-50004 | 2 | 2 | - | |
| 25 | Палец | 16Y-62-50804 | 4 | 4 | - | |
| 26 | Гайка | 16Y-62-50011 | 2 | 2 | - | |
| 27 | Пластина стопорная | 16Y-62-50010 | 2 | 2 | - | |
| 28 | Проволока | 04059-01032 | 2 | 2 | - | |
| 29 | Шайба | 01322-40812 | 2 | 2 | - | |
| 30 | Трубка передняя левая | 16Y-62-50300 | 1 | - | ||
| 30 | Трубка передняя левая | 16Y-62E-11000 | 1 | - | ||
| 31 | Трубка задняя левая | 16Y-62-50600 | 1 | - | ||
| 31 | Трубка задняя левая | 16Y-62E-13000 | 1 | - | ||
| 31 | Трубка задняя правая | 16Y-62-60200 | 1 | - | ||
| 31 | Трубка задняя правая | 16Y-62E-23000 | 1 | - | ||
| 32 | Болт | 01010-51055 | 8 | 8 | - | |
| 33 | Болт | 01010-51045 | 8 | 8 | - | |
| 34 | Шайба пружинная | 01602-21030 | 16 | 16 | - | |
| 35 | Кольцо круглого сечения | 07000-13035 | 4 | 4 | - | |
| 36 | Хомут | 07283-13442 | 4 | 4 | - | |
| 37 | Гайка | 01599-01011 | 8 | 8 | - | |
| 38 | Шайба | 01643-31032 | 8 | 8 | - | |
| 39 | Пластина опорная | 1 6Y-62-50006 | 2 | 2 | - | |
| 40 | Втулка | 16Y-62-50007 | 2 | 2 | - | |
| 41 | Болт | 01012-51245 | 2 | 2 | - | |
| 42 | Гайка | 01590-11215 | 2 | 2 | - | |
| 43 | Чека разводная | 04050-13036 | 2 | 2 | - | |
| 44 | Шайба | 01643-31232 | 2 | 2 | - | |
Обращаем Ваше внимание, что пункты отмеченные звездочкой, обязательны для заполнения.